Гидравлическое регулируемое отверстие в виде набора круглых отверстий, просверленных в стакане
Отверстия

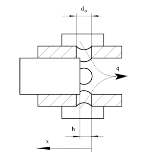
Блок моделирует переменное отверстие, созданное цилиндрической катушкой и набором круглых отверстий, просверленных во втулке. Все отверстия имеют одинаковый диаметр, равномерно распределены по периметру втулки, а их осевые линии расположены в одной плоскости. Расход через отверстие пропорционален отверстию отверстия и разности давлений через отверстие. Следующая схема показывает поперечное сечение отверстия с переменными круглыми отверстиями, где
| q | Расход |
| h | Отверстие диафрагмы |
| x | Смещение золотника из исходного положения |
| d0 | Диаметр отверстия диафрагмы |

Совокупная вводная область, обеспеченная круглыми отверстиями, вычислена во время моделирования из открытия отверстия, меры мгновенного положения шпульки:
≤hMinx0+δx,else
где:
h - отверстие диафрагмы. Нижний индекс Min относится к минимальному значению, соответствующему полностью закрытому отверстию. Это значение рассчитывается при моделировании из параметров блока.
x - смещение катушки, указанное через физический сигнальный порт S. Нижний индекс 0 обозначает смещение проема, указанное в параметре начального блока проема.
δ - ориентация отверстия отверстия: +1 если положительное, -1 если отрицательный. Это значение задается в параметре блока ориентации диафрагмы.
Минимальное отверстие отверстия чМин рассчитывается приблизительно с использованием выражения:
)]
где:
do - диаметр отдельного отверстия. Это значение получается из параметра «Диаметр блока круглых отверстий». Предполагается, что отверстия идентичны по размеру.
no - количество круглых отверстий, образующих отверстие. Это значение получается из параметра блока Количество круглых отверстий (Number of round holes).
Dh, Min - минимальное значение гидравлического диаметра отверстия в целом. Это значение рассчитывается на основе минимальной площади проема, указанной в параметре блока «Площадь утечки»:
securitydo24.
Площадь отверстия отверстия (сумма по различным круглым отверстиям) рассчитывается из условного выражения:
doAMax + ALeakfor h≥do,
где:
ALeak - открытая зона в полностью закрытом положении, когда остается только утечка. Это значение получается из параметра блока области утечки.
AMax - это открытая область в полностью открытом положении, когда отверстия открыты до полной емкости. Это значение рассчитывается из числа и диаметра отверстий:
noādo24
Чистый расход через отверстие рассчитывается как:
) 1/4,
где:
q - объемный расход через отверстие (сумма расходов через различные отверстия).
Коэффициент CD представляет собой коэффициент выпуска отверстия. Это значение получается из параметра блока коэффициента расхода потока.
А представляет собой площадь отверстия для заполнителя отверстия (вычисленную как функция отверстия для отверстия h).
Δp - разность давлений от порта A к порту B:
pB,
где p - манометрическое давление через порт, указанный в нижнем индексе.
pCr - расчетное значение критического давления (от порта A к порту B), при котором считается, что поток смещается между ламинарным и турбулентным режимами.
Расчет критической разности давлений зависит от установки параметра блока спецификации перехода Ламинара:
By pressure ratio - Получить перепад критического давления из коэффициента критического давления:
1 − β),
где β - отношение критического давления, полученное из параметра блока отношения ламинарного потока к давлению на входе, определяемого как отношение давления на выходе к давлению на входе в точке перехода между ламинарным и турбулентным режимами. Нижний индекс Atm обозначает атмосферное значение (0.101325 MPa при стандартных ссылочных условиях) и подстрочный индекс Avg среднее манометрическое давление в портах:
pB2,
By Reynolds number - Получить критический перепад давления из критического числа Рейнольдса:
) 2,
где ReCr - критическое число Рейнольдса, при котором можно сказать, что поток переходит между ламинарным и турбулентным режимами,
, в противном случае
с P в качестве суммы периметров отверстий:
[1 − 2hdo])]
Инерция жидкости игнорируется.
Диаметр отверстий в диафрагме. Значение по умолчанию: 5e-3 м.
Количество отверстий. Значение по умолчанию: 6.
Полуэмпирический параметр для характеристики емкости диафрагмы. Его значение зависит от геометрических свойств отверстия и обычно приводится в учебниках или листах технических данных производителя. Значение по умолчанию: 0.6.
Начальное отверстие диафрагмы. Параметр может быть положительным (подстилаемое отверстие), отрицательным (перекрывающееся отверстие) или равным нулю для конфигурации с нулевым перекрытием. Величина начального отверстия не зависит от ориентации отверстия. Значение по умолчанию: 0.
Вводится параметр, определяющий влияние движения элемента управления диафрагмой на открытие клапана. Параметр может быть установлен в одну из двух опций: Opens in positive direction или Opens in negative direction. Стоимость Opens in positive direction определяет отверстие, управляющий элемент которого открывает клапан при его смещении в глобальном положительном направлении. Этот параметр чрезвычайно полезен для создания многозаходного клапана, при этом все отверстия контролируются одним и тем же золотником. Значение по умолчанию: Opens in positive direction.
Выберите способ перехода блока между ламинарным и турбулентным режимами:
Pressure ratio - Переход от ламинарного режима к турбулентному является плавным и зависит от значения параметра отношения давлений ламинарного потока. Этот метод обеспечивает лучшую надежность моделирования.
Reynolds number - Предполагается, что переход от ламинарного режима к турбулентному происходит, когда число Рейнольдса достигает значения, заданного параметром критического числа Рейнольдса.
Отношение давления, при котором поток переходит между ламинарным и турбулентным режимами. Значение по умолчанию: 0.999. Этот параметр отображается только в том случае, если для параметра спецификации Laminar transition установлено значение Pressure ratio.
Максимальное число Рейнольдса для ламинарного потока. Значение параметра зависит от геометрического профиля отверстия. Рекомендации по значению параметра можно найти в учебниках по гидравлике. Значение по умолчанию: 10. Этот параметр отображается только в том случае, если для параметра спецификации Laminar transition установлено значение Reynolds number.
Общая площадь возможных утечек в полностью закрытом клапане. Основное назначение параметра состоит в поддержании числовой целостности цепи путем предотвращения изоляции части системы после полного закрытия клапана. Значение параметра должно быть больше 0. Значение по умолчанию: 1e-15 м ^ 2.
Параметры, определяемые типом рабочей жидкости:
Плотность жидкости
Кинематическая вязкость жидкости
Для задания свойств жидкости используйте блок «Гидравлическая жидкость» или блок «Пользовательская гидравлическая жидкость».
Блок имеет следующие порты:
AГидравлическое консервационное отверстие, связанное с входным отверстием диафрагмы.
BПорт гидравлической экономии, связанный с выпускным отверстием диафрагмы.
SФизический сигнальный порт для управления смещением катушки.
Расход является положительным, если текучая среда течет из порта A к порту B. Положительный сигнал на физическом сигнальном порте S открывает или закрывает отверстие в зависимости от значения параметра Ориентация отверстия.
Кольцевое отверстие | Гидравлическая диафрагма с постоянной площадью | Фиксированная диафрагма | Диафрагма с прорезью переменной площади | Гидравлическая диафрагма переменной площади | Регулируемая диафрагма