Эта модель показывает реализацию системы управления автопилота продольной оси, которая спроектирована для генерации кода.
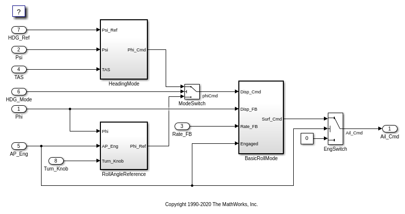
Эта модель представляет основной автопилот продольной оси двумя рабочими режимами: прокрутитесь отношение содержат, и заголовок содержат. Логика режима для этих режимов является внешней к этой модели. Архитектура модели представляет заголовок, содержат режим и основную функцию отношения крена как атомарные подсистемы.
Функция управления ориентацией креном является ПИД-регулятором, который использует отношение крена и обратную связь уровня крена, чтобы произвести команду элерона. Вход контроллеру является или основной ссылкой крена или командой крена, чтобы отследить желаемый заголовок. Модель следующие:
open_system('rtwdemo_roll');

RollAngleReferenceОсновное вычисление ссылки крена реализовано как подсистема RollAngleReference. Embedded Coder® встраивает это вычисление непосредственно в основную функцию для rtwdemo_roll.
open_system('rtwdemo_roll/RollAngleReference');

HeadingModeПодсистема HeadingMode вычисляет команду крена, чтобы отследить желаемый заголовок.
close_system('rtwdemo_roll/RollAngleReference'); open_system('rtwdemo_heading');

BasicRollModeПодсистема BasicRollMode вычисляет функцию управления ориентацией креном (ПИД).
close_system('rtwdemo_heading'); open_system('rtwdemo_attitude');

Модель предварительно сконфигурирована, чтобы сгенерировать код с помощью Embedded Coder. Чтобы сгенерировать код с помощью Simulink Coder только, реконфигурируйте модель, или в командной строке вводят rtwconfiguredemo('rtwdemo_roll','GRT')
В вашей системе временная папка создайте временную папку для процесса сборки.
currentDir = pwd; [~,cgDir] = rtwdemodir();
Сгенерируйте код.
slbuild('rtwdemo_roll');
### Starting build procedure for: rtwdemo_roll ### Successful completion of build procedure for: rtwdemo_roll Build Summary Top model targets built: Model Action Rebuild Reason ============================================================================================= rtwdemo_roll Code generated and compiled Code generation information file does not exist. 1 of 1 models built (0 models already up to date) Build duration: 0h 0m 10.689s
Можно просмотреть целый сгенерированный код в подробном отчете HTML с двусторонней отслеживаемостью между моделью и кодом.
web(fullfile(cgDir,'rtwdemo_roll_ert_rtw','html','rtwdemo_roll_codegen_rpt.html'))
Закройте модели и возвратитесь к предыдущей рабочей папке.
close_system('rtwdemo_roll',0) close_system('rtwdemo_attitude',0) close_system('rtwdemo_heading',0) cd(currentDir); rtwdemoclean;
Для получения дополнительной информации о генерации кода с Embedded Coder см. Примеры в Начало работы с документацией Embedded Coder.