Этот раздел обрисовывает в общих чертах рабочий процесс Модельно-ориентированного проектирования, который обращается к действиям разработки и верификации в жизненном цикле программного обеспечения DO-178C.
Рисунок 4 иллюстрирует базовые артефакты разработки программного обеспечения и действия наряду с соответствующими целями из таблицы MB.A-2 DO-331 [4].[1] [2] Тело, горизонтальные стрелки указывают на последовательность действий разработки программного обеспечения.
Рисунок 4: базовые артефакты разработки программного обеспечения и действия

В следующей таблице перечислены MathWorks® продукты и возможности, которые могут использоваться, чтобы поддержать базовые действия разработки программного обеспечения в рабочем процессе.
| Действие рабочего процесса | Доступные продукты и возможности модельно-ориентированного проектирования |
|---|---|
| Разработка требований | Сторонний инструмент управления требований |
| Разработка моделей | MATLAB®, Simulink®, Stateflow® |
| Разработка исходного кода | Embedded Coder® |
| Разработка исполняемого объектного кода | Сторонний IDE или компилятор, Режим PIL |
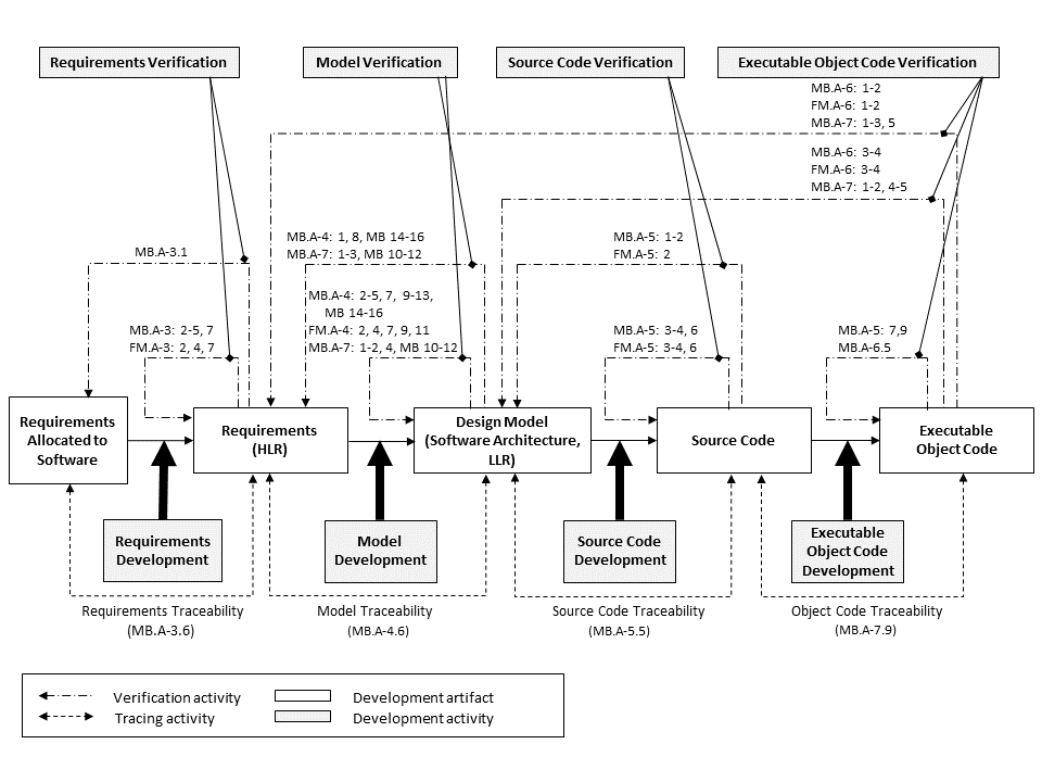
Рисунок 5 иллюстрирует верификацию и действия трассируемости и цели, которые соответствуют базовым артефактам разработки программного обеспечения и действиям, показанным в рисунке 4.
Рисунок 5: верификация и действия трассируемости и цели

В следующей таблице перечислены Продукты Mathworks и возможности, которые могут использоваться, чтобы поддержать базовые действия верификации и трассировки рабочего процесса.
| Действие рабочего процесса | Доступные продукты и возможности модельно-ориентированного проектирования |
|---|---|
| Верификация требований | Simulink Requirements™ |
| Трассируемость требований | Simulink Requirements |
| Верификация модели | Simulink Check™ — DO-178C/DO-331 проверяет*, Simulink Test™ — менеджер по Тесту*, Simulink Design Verifier™ — Свойство, Оказывающееся (дополнительным), Simulink Design Verifier — (дополнительным) Поиском ошибок проектирования, Simulink Coverage™ — Покрытие модели*, Simulink Report Generator™ — отчет Описания Разработки системы*, Simulink — отчет Сравнения Модели* |
| Трассируемость модели | Simulink Requirements — Requirements Management Interface, Simulink Report Generator — отчет Описания Разработки системы*, Simulink — отчет Сравнения Модели* |
| Верификация исходного кода | Polyspace® Bug Finder™ и Polyspace Bug Finder Server™ — AGC AC MISRA: 2 007 проверок, Simulink Code Inspector™ — Отчет Верификации кода*, Polyspace Code Prover™* и Polyspace Code Prover Server* |
| Трассируемость исходного кода | Simulink Code Inspector — отчет трассируемости* |
| Верификация исполняемого объектного кода | Simulink Test — менеджер по Тесту*, Simulink Design Verifier — генерация Теста, Embedded Coder — тест PIL, Simulink Coverage — Покрытие кода, Polyspace Code Prover и Polyspace Code Prover Server |
| Трассируемость объектного кода | Embedded Coder — отчет Генерации кода, Сторонний IDE или компилятор — список Объектных кодов |
| *DO Qualification Kit может использоваться, чтобы поддержать DO - 178C квалификация инструмента. | |
[1] Таблица MB.1-1 DO-331 идентифицирует различные примеры использования модели. Рабочий процесс, представленный здесь, основан на Примере Мбайта 1 и обращается к Уровням Обеспечения Проекта до DAL A.
[2] Требования, выделенные программному обеспечению, являются результатом процесса разработки системы согласно ARP-4754A.