В этом примере показано, как смоделировать отказ и защиту отказа с помощью предохранителя в автомобильном блоке батарей для теплового. Блок батарей состоит из нескольких модулей батареи, которые являются комбинациями ячеек последовательно и параллели. Каждый элемент батареи моделируется с помощью блока Battery (Table-Based) Simscape Electrical. В этом примере начальная температура и состояние заряда являются тем же самым для всех ячеек. Четыре модуля батареи, три подобных и одно отличие от других трех, соединяются последовательно, чтобы симулировать блок батарей. Результаты в этом примере принимают начальную температуру окружающей среды, равную 25 степеням Цельсия. Подсистема Управления задает логику, используемую, чтобы определить скорость потока жидкости хладагента блока батарей. Предохранитель помещается встроенный в блок батарей как мера защиты отказа.

Чтобы использовать эту модель, чтобы создать уникальный модуль батареи, сначала задайте количество ряда - и соединенные с параллелью ячейки. Затем задайте тип ячейки для всех отдельных ячеек путем выбора одной из этих опций для Выбрать параметра типа ячейки блока Battery Module:
Pouch
Can
Compact cylindrical
Regular cylindrical
Этот пример использует ячейки типа мешочка. Модуль A, B, и C состоит из пяти подключенных последовательно и двух соединенных с параллелью ячеек. Модуль D состоит из шести подключенных последовательно и двух соединенных с параллелью ячеек.
![]()
Эти два выходных порта, SOC и Временный файл, предоставляют информацию относительно состояния заряда и температуры каждой ячейки в модуле. Тепловой порт, Amb, используется, чтобы задать температуру окружающей среды в симуляции. Электрические порты, pos и отрицательный, задают электрические положительные и отрицательные терминалы, соответственно. Эти два входных порта, FlwR и FlwT, задают управление скоростью потока жидкости хладагента батареи и вставляют температуру в модуль.
Рисунок ниже показывает примеры элементов батареи в Pouch и Can настройки.

Рисунок ниже показывает примеры элементов батареи в Compact cylindrical и Regular cylindrical настройки.

Это параметры в модуле батареи:
Вектор из температур, T — Температуры, при которых ячейка или данные о модуле для варьирующихся по температуре свойств сведены в таблицу в виде вектора.
Отдельная ячейка оценка Ahr, базовая линия — способность Ячейки при температурах, заданных в Векторе из температур, T параметр в виде вектора.
Вектор из значений состояния заряда, SOC — Область значений значений между 0 и 1, в котором ячейка электрические параметры заданы в виде вектора.
Вектор из скоростей потока хладагента, L — значения массового расхода жидкости Хладагента, в которых задана интерполяционная таблица для охлаждения ячейки. Этот параметр должен ответить на несколько вопросов в области значений потока интереса. Этот параметр задает размер Эффективного уровня параметра теплопередачи хладагента и задан как вектор.
Никакое напряжение загрузки, V0 — потенциальные ценности разомкнутой цепи Ячейки в различном Векторе из значений состояния заряда, SOC и Вектора из температур, T указывает в виде матрицы.
Терминальное сопротивление, R0 — Ячейка омические значения сопротивления в различном Векторе из значений состояния заряда, SOC и Вектора из температур, T указывает в виде матрицы.
Сопротивление поляризации — значения сопротивления Поляризации в различном Векторе из значений состояния заряда, SOC и Вектора из температур, T указывает в виде матрицы.
Постоянная времени — Постоянная времени в различном Векторе из значений состояния заряда, SOC и Вектора из температур, T указывает в виде матрицы.
Количество тепла ячейки — Количество тепла отдельной ячейки в виде скаляра.
Теплопроводность ячейки — Ячейка проводимость через плоскость для мешочка и может ячейки или радиальная проводимость для цилиндрических ячеек в виде скаляра.
Коэффициент теплопередачи к окружающей среде — содействующее значение Теплопередачи в виде скаляра.
Количество подключенных последовательно ячеек Ns — Количество строк последовательно в виде целого числа.
Количество параллели соединило ячейки Np — Количество параллельных ячеек в строке в виде целого числа.
Выберите тип ячейки — Тип ячейки в виде любого Pouch, Can, Compact cylindrical, или Regular cylindrical.
Ширина ячеек — Ширина ячеек в виде скаляра.
Ширина ячеек — Ширина ячеек для Pouch и Can ячейки в виде скаляра.
Толщина ячейки — толщина Ячейки для Pouch или Can ячейки в виде скаляра.
Диаметр ячейки — диаметр Ячейки для Compact cylindrical или Regular cylindricalВ виде скаляра.
Количество цилиндрических ячеек в прямой линии — Количество цилиндрических ячеек располагается в прямой линии для упаковки в виде целого числа.
Вспомогательный полное сопротивление — Сопротивление, которое комбинирует все встроенное сопротивление в модуле в виде скаляра. Это сопротивление является суммой вкладки ячейки, собирательной шины, кабеля и/или сопротивлений сварки в виде скаляра.
Балансировка ячейки — метод балансировки Ячейки в виде любого none или passive. В этом примере этот параметр устанавливается на none.
Эффективный уровень теплопередачи хладагента от каждой ячейки — Оценка теплового сопротивления (W/K) теплопередачи от элементов батареи до хладагента в виде 3-D матрицы скалярных значений. 3-D матричный размер зависит от Вектора из температур, T, Вектора из скоростей потока хладагента, L и параметров NsxNp. Параметр NsxNp является общим количеством ячеек в модуле. Охлаждение батареи представлено как интерполяционная таблица или 3-D матрица размера [T, L, Ns*Np] и значения вычисляются с помощью, подробно изложил 3-D методы, такие как вычислительная гидрогазодинамика. Значения матрицы зависят от фактического аппаратного проекта системы охлаждения или холодных пластин в модуле. Эффективностью холодной пластины управляют с помощью входных значений FlwR и FlwT.
Внешнее тепло — Внешний вход тепла к каждой ячейке в модуле из-за горячего компонента, помещенного около модуля в виде вектора.
Вектор из температуры первичной клетки — температура начальной буквы Ячейки в виде вектора.
Вектор из состояния заряда первичной клетки — начальное состояние Ячейки заряда в виде вектора.
Ячейка Ahr оценка изменения — Межклеточные изменения способности ячейки во всем Векторе из температур, T указывает для каждой ячейки в виде вектора из скалярных значений. Если вы устанавливаете этот массив на 1, вся способность ячейки является тем же самым. Значения массивов для ячейки умножаются со значением, заданным в Отдельной ячейке оценка Ahr, базовый параметр, чтобы вычислить фактическую способность или оценку Ahr ячейки.
Чтобы задать скорость потока жидкости хладагента батареи и температуру, задайте эти входные параметры:
FlwR — Значение между 0 и 1 в виде скаляра. Входное значение FlwR используется, чтобы динамически выбрать правильное значение скорости потока жидкости во время симуляций. Значение входа FlwR задает фактическую скорость потока жидкости в модуле. В Векторе из скоростей потока хладагента L параметр, FlwR не равняются 0 средним значениям никакому потоку, в то время как FlwR равняются 1 среднему значению самому высокому значению скорости потока жидкости.
FlwT — Положительная или отрицательная величина, что, когда суммировано к температуре окружающей среды, равняется входной температуре хладагента. Значение +15 для входа FlwT и 273.15 K в порте Amb делает входную температуру хладагента равной 273,15 + 15 = 288.15K. Значение-15 для входа FlwT и 273.15 K в Amb делает входную температуру хладагента равной 273,15 - 15 = 258.15 K
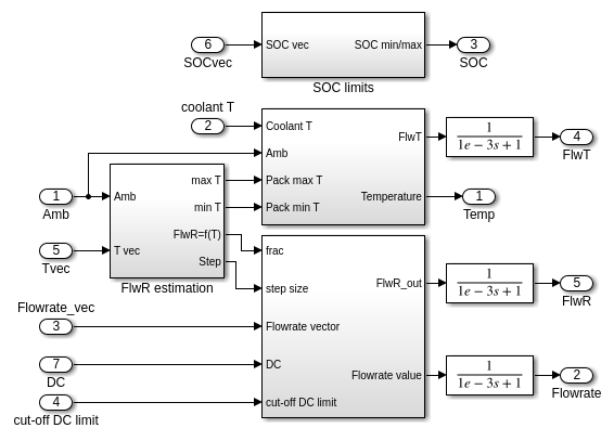
В этом примере блок батарей состоит из четырех модулей, соединенных последовательно. Первые три модуля идентичны. Четвертый модуль имеет различное количество ячеек, Ns4, и охлаждение КПД, coolantQ4, заданный в ee_lithium_pack_cooling_ini.m файл. Кабели, смоделированные как резисторы, соединяют модули друг с другом. Все модули имеют различную скорость потока жидкости хладагента. Блок Flow Divide в подсистеме Блока батарей определяет скорость потока жидкости, которая достигает каждого модуля батареи.

Подсистема Управления отслеживает минимальные и максимальные температуры в блоке батарей. Эта подсистема вычисляет скорость потока жидкости на основе самого большого значения между различием в максимуме и минимальными температурами ячейки в пакете и различием в максимальной температуре в пакете и значении в порте Amb. Для различия 10 градусов Цельсия или больше, FlwR установлен в 1, еще он линейно масштабируется до нуля, когда нет никакого перепада температур между различными ячейками, и температура блока батарей очень близка набор значений в порте Amb. В этом примере хладагент вставил температуру, заданную в coolantTemp переменная рабочей области в ee_lithium_pack_fault_protection_ini.m файл, является постоянным. Поток хладагента выключен, если текущая батарея является нулем или больше, чем maxDCfaultCurrent в файле ee_lithium_pack_fault_protection_ini.m.

Этот пример симулирует 180 секунды постоянный профиль загрузки. Скорость потока жидкости увеличивается наряду с температурой блока батарей, ведя к лучшему охлаждению блока батарей. Когда отказ происходит в 120 с, батарея текущие увеличения и удары предохранителя. Скорость потока хладагента также превращена к нулю.
