Гидравлическая часть подпружиненного подшипника скольжения
Отверстия

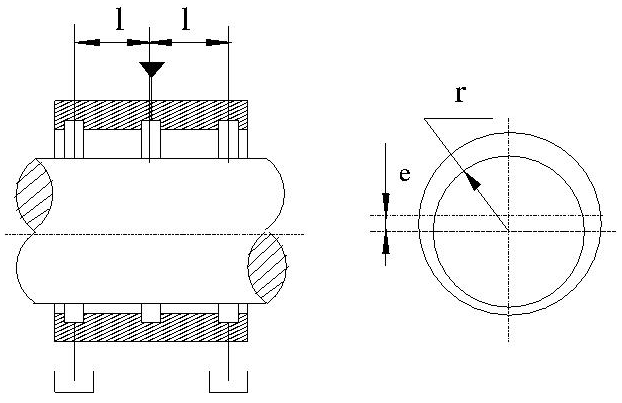
Блок подачи давления в подшипник скольжения моделирует гидравлическую часть поданного под давлением подшипника скольжения, как показано на следующей иллюстрации.

Смазка под давлением р закачивается в кольцевую канавку в центре подшипника. Канавка делит подшипник на два полуподшипника. Смазка выходит через концевые канавки, расположенные на расстоянии l от центральной канавки. Модель предназначена для использования в моделировании системы смазки для оценки расхода потока через поданный под давлением подшипник скольжения. Предполагается, что режим потока является ламинарным из-за очень малых зазоров между цапфой и втулкой.
Расход вычисляется с использованием уравнения Хагена-Пуазёйля (см. [1]):
.5α2)
где
| q | Объемный расход |
| p | Перепад давления на подшипнике |
| r | Радиус журнала |
| c | Радиальный зазор в нейтральном положении |
| μ | Динамическая вязкость |
| l | Длина полуподшипника |
| ε | Относительный эксцентриситет, start= e/r |
| e | Эксцентриситет или отклонение цапфы от центрального положения |
Радиальное смещение цапфы, которое управляет эксцентриситетом подшипника, импортируется через физический сигнальный порт J. Соединения А и В являются гидравлическими консервационными отверстиями, связанными с входом и выходом подшипника соответственно. Положительное направление блока - от порта A к порту B. Это означает, что расход является положительным, если он течет от A к B и перепад давления определяется как pB,. Положительный сигнал на порте J физического сигнала увеличивает эксцентриситет и ограничивается радиальным зазором подшипника.
Предполагается, что режим потока является ламинарным из-за небольших зазоров.
Радиус журнала. Параметр должен быть положительным. Значение по умолчанию: 0.05 м.
Радиальный зазор между цапфой и втулкой в нейтральном положении. Параметр должен быть положительным. Значение по умолчанию: 2e-4 м.
Длина полуподшипника, то есть расстояние между каждой из концевых канавок и центральной канавкой. Параметр должен быть положительным. Значение по умолчанию: 0.025 м.
Параметры, определяемые типом рабочей жидкости:
Плотность жидкости
Кинематическая вязкость жидкости
Для задания свойств жидкости используйте блок «Гидравлическая жидкость» или блок «Пользовательская гидравлическая жидкость».
Блок имеет следующие порты:
AПорт гидравлической экономии, связанный с входом подшипника.
BПорт гидравлической экономии, связанный с выходом подшипника.
JФизический сигнальный порт, управляющий отклонением журнала.
[1] Shigley, J., К. Мишк и Р. Будинас. Проектирование машиностроения. Нью-Йорк: Макгроу-Хилл, 2004.