В этом разделе описывается рабочий процесс конструирования на основе модели, в котором рассматриваются действия по разработке и проверке в DO-178C жизненном цикле программного обеспечения.
На рис. 4 показаны основные артефакты и действия по разработке программного обеспечения, а также соответствующие цели из DO-331 [4] Таблица MB.A-2. 1[ ] [] Сплошные 2горизонтальные стрелки указывают последовательность действий по разработке программного обеспечения.
Рис. 4: Основные артефакты и действия при разработке программного обеспечения

В следующей таблице перечислены продукты и возможности MathWorks ®, которые могут использоваться для поддержки основных задач разработки программного обеспечения в рабочем процессе.
| Действие рабочего процесса | Доступные продукты и возможности для конструирования на основе моделей |
|---|---|
| Разработка требований | Инструмент управления требованиями сторонних производителей |
| Разработка модели | MATLAB ®, Simulink ®, Stateflow ® |
| Разработка исходного кода | Встроенный кодер ® |
| Разработка исполняемого кода объекта | Сторонняя среда IDE или компилятор, режим PIL |
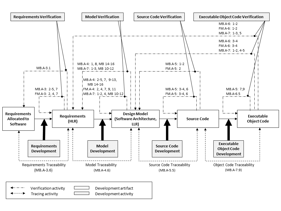
На рис. 5 показаны действия и цели проверки и отслеживания, которые соответствуют основным артефактам разработки программного обеспечения и действиям, показанным на рис. 4.
Рис. 5: Деятельность и цели в области проверки и отслеживания

В следующей таблице перечислены продукты и возможности MathWorks, которые могут использоваться для поддержки основных операций проверки и отслеживания потока операций.
| Действие рабочего процесса | Доступные продукты и возможности для конструирования на основе моделей |
|---|---|
| Проверка требований | Симулинк Requirements™ |
| Прослеживаемость требований | Требования к симуляторам |
| Проверка модели | Simulink Check™ - проверки DO-178C/DO-331 *, Simulink Test™ - Test Manager *, Simulink Design Verifier™ - Проверка свойств (необязательно), Simulink Design Verifier - Обнаружение ошибок проектирования (необязательно), Simulink Coverage™ - Покрытие модели *, Simulink Report Generator™ - Отчет по описанию конструкции системы *, Simulink - Отчет по сравнению моделей * |
| Прослеживаемость модели | Требования к Simulink - интерфейс управления требованиями, генератор отчетов Simulink - отчет по описанию конструкции системы *, Simulink - отчет по сравнению моделей * |
| Проверка исходного кода | Polyspace ® Bug Finder™ и Polyspace Bug Finder Server™ - MISRA AC AGC: 2007 проверки, Simulink Code Inspector™ - Отчет о проверке кода *, Polyspace Code Prover™ * и Сервер проверки кода Polyspace * |
| Отслеживание исходного кода | Инспектор кода Simulink - Отчет об отслеживании * |
| Проверка кода исполняемого объекта | Simulink Test - Test Manager *, Simulink Design Verifier - Создание тестового примера, Встроенный кодер - PIL-тест, Simulink Coverage - Покрытие кода, Сервер проверки кода Polyspace и Сервер проверки кода Polyspace |
| Отслеживание кода объекта | Встроенный кодер - отчет о создании кода, сторонняя среда IDE или компилятор - список кодов объектов |
| * Набор DO Qualification Kit может использоваться для поддержки DO-178C квалификации инструмента. | |
[1] DO-331 Таблица MB.1-1 определяет различные примеры использования модели. Представленный здесь рабочий процесс основан на примере 1 МБ и касается уровней обеспечения проектирования до уровня DAL A.
[2] Требования к программному обеспечению являются результатом процесса разработки системы в соответствии с ARP-4754A.