Функциональность WLAN Toolbox™ включает в себя элементы стандартной цепочки обработки «передатчик-канал-приемник».

Функции датчика позволяют моделировать различные форматы IEEE ® 802.11™ [1]. Смоделированная форма сигнала включает в себя поля преамбулы и данных PPDU. Эту форму сигнала можно использовать при моделировании на уровне канала. Его также можно использовать в качестве тестового сигнала для тестовых устройств и оборудования.
Функции канала моделируют различные типы воздействия окружающей среды AWGN, замирания или перемещения канала.
Функции приемника восстанавливают передаваемый сигнал.
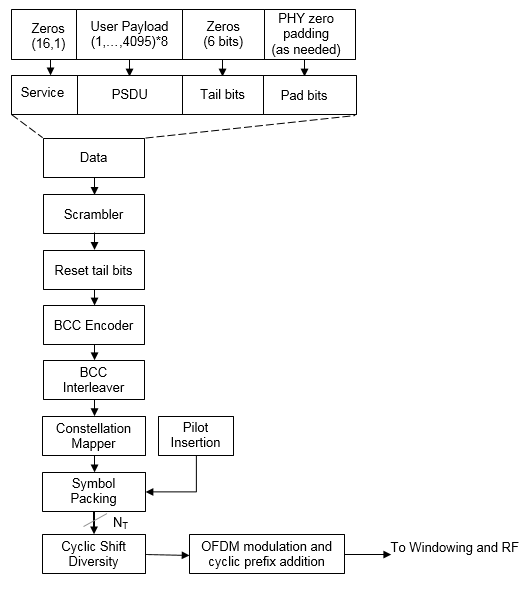
Функции WLAN Toolbox позволяют создавать формы сигналов для полного PPDU или для отдельных полей VHT, HT-смешанных и не-HT форматов PPDU.
Как описано в IEEE 802.11ac™-2013 [4], раздел 22 определяет объект PHY для системы мультиплексирования с ортогональным частотным разделением каналов (OFDM) с очень высокой пропускной способностью (VHT). VHT STA должен быть способен передавать и принимать HT-PHY и не совместимые с HT-PHY PPDU. В частности, VHT PHY основан на HT PHY, определенном в разделе 20, который, в свою очередь, основан на OFDM PHY, определенном в разделе 18. VHT PHY расширяет максимальное количество поддерживаемых пространственно-временных потоков до восьми и обеспечивает поддержку многопользовательских (MU) передач нисходящей линии связи. Передача МУ нисходящей линии связи поддерживает до четырех пользователей с до четырех пространственно-временных потоков на пользователя, при этом общее количество пространственно-временных потоков не превышает восьми.
IEEE Std 802.11ac-2013 [4], раздел 22 определяет требования к обработке на физическом уровне, связанные с каждым полем PPDU для формата VHT.

IEEE 802.11-2012 [3], раздел 20 определяет требования к обработке на физическом уровне, связанные с каждым полем PPDU для смешанного формата HT.

IEEE 802.11-2012 [3], раздел 18 определяет требования к обработке на физическом уровне, связанные с каждым полем PPDU для схемы модуляции OFDM. IEEE 802.11-2012 [3], раздел 17 и раздел 19 определяют требования к обработке на физическом уровне, связанные с каждым полем PPDU для схемы модуляции DSSS.

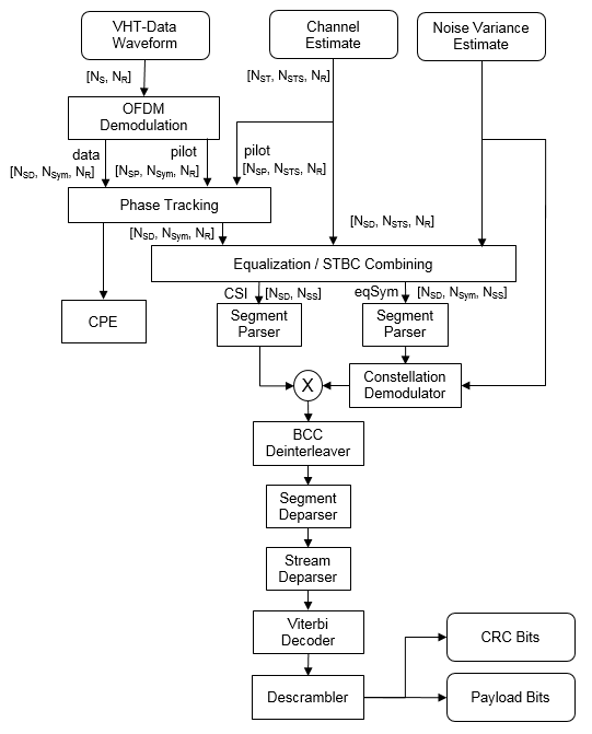
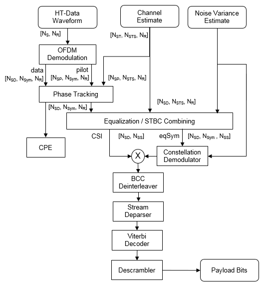
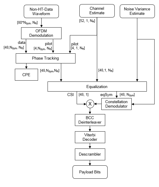
Функции панели инструментов WLAN позволяют восстанавливать передаваемые PPDU формата VHT, HT-смешанные и не-HT. Цепочка обработки приема включает в себя синхронизацию, демодуляцию OFDM, оценку канала, выравнивание и восстановление сигнала и данных.
На этом рисунке показаны элементы приемника, используемые для обработки поля данных VHT. Категория «Прием сигнала» включает список всех функций приемника на панели инструментов WLAN.

На этом рисунке показаны элементы приемника, используемые для обработки поля HT Data. Категория «Прием сигнала» включает список всех функций приемника на панели инструментов WLAN.

На этом рисунке показаны элементы приемника, используемые для обработки поля данных без HT. Категория «Прием сигнала» включает список всех функций приемника на панели инструментов WLAN.

[1] IEEE 802.11™: беспроводные локальные сети. http://standards.ieee.org/about/get/802/802.11.html
[2] Стандарт IEEE Std 802.11™-2016 IEEE для информационных технологий - Телекоммуникации и обмен информацией между системами - Локальные и городские сети - Особые требования - Часть 11: Спецификации управления доступом к среде беспроводной локальной сети (MAC) и физического уровня (PHY).
[3] Стандарт IEEE Std 802.11™-2012 IEEE для информационных технологий - Телекоммуникации и обмен информацией между системами - Локальные и городские сети - Особые требования - Часть 11: Спецификации управления доступом к среде беспроводной локальной сети (MAC) и физического уровня (PHY).
[4] Стандарт IEEE Std 802.11ac™-2013 IEEE для информационных технологий - Телекоммуникации и обмен информацией между системами - Локальные и городские сети - Особые требования - Часть 11: Спецификации управления доступом к среде беспроводной локальной сети (MAC) и физического уровня (PHY) - Поправка 4: Усовершенствования для очень высокой пропускной способности для работы в диапазонах ниже
[5] Стандарт IEEE Std 802.11ad™-2012 IEEE для информационных технологий - Телекоммуникации и обмен информацией между системами - Локальные и городские сети - Особые требования - Часть 11: Спецификации управления доступом к среде беспроводной локальной сети (MAC) и физического уровня (PHY) - Поправка 3: Усовершенствования для очень высокой пропускной способности в 60 ГГц
[6] Перахия, Э. и Р. Стейси. Беспроводные локальные сети следующего поколения: 802.11n и 802.11ac. 2-е издание. Великобритания: Cambridge University Press, 2013.
Сквозное моделирование VHT с коррекцией частоты | Передача и восстановление L-SIG, VHT-SIG-A, VHT-SIG-B в канале замирания
[1] IEEE Std 802.11-2016 Адаптирован и переиздан с разрешения IEEE. Авторское право IEEE 2016. Все права защищены.