Сгенерируйте биполярный код Баркера
Communications Toolbox
Communications Toolbox/Источники связи/Генераторы последовательности
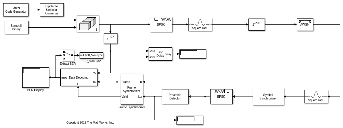
Блок Barker Code Generator генерирует биполярный код Баркера. Короткая длина и малая корреляция боковых элементов делают коды Баркера полезными для системы координат синхронизации в цифровых коммуникационных системах. Для получения дополнительной информации см. «Коды Баркера».
output - система координат кода БаркераКод Баркера системы координат, возвращается как вектор-столбец. Если длина системы координат превышает длину кода Баркера, блок заполняет систему координат, повторяя код Баркера.
Установите тип данных выхода с параметром Output data type.
Code length - Длина сгенерированного кода7 (по умолчанию) | 1 | 2 | 3 | 4 | 5 | 11 | 13Длина сгенерированного кода, заданная как 1, 2, 3, 4, 5, 7, 11, или 13. Для получения дополнительной информации см. «Коды Баркера».
Пример: 2 выводит код Баркера [-1; 1].
Типы данных: double
Sample time - Вывод шага расчета1 (по умолчанию) | -1 | положительная скалярная величинаВывод шага расчета, заданный как -1 или положительная скалярная величина, которая представляет время между каждой выборкой сигнала выхода. Если для Sample time задано значение -1, шаг расчета наследуется от нисходящего потока. Для получения информации о связи между Sample time и Samples per frame см
. Частота дискретизации.
Samples per frame - Выборки по выходной системе координат1 (по умолчанию) | положительное целое числоВыборки на выходную систему координат, заданные как положительное целое число. Если Samples per frame M, блок выводит систему координат, содержащий M выборки, состоящие из последовательностей кода Баркера N длины. N - длина сгенерированного кода, который устанавливается параметром Code length. Когда M не является целым числом, кратным N, последовательные системы координат поддерживают непрерывность кода Баркера через контуры кадра.
Для получения информации о связи между Sample time и Samples per frame, смотрите Sample Timing.
Типы данных: double
Output data type - Тип выходных данныхdouble (по умолчанию) | int8Выход данных, заданный как double или int8.
Типы данных: char | string
Simulate using - Тип выполняемой симуляцииCode generation (по умолчанию) | Interpreted executionТип выполняемой симуляции, заданный как Code generation или Interpreted execution.
Code generation - Симулируйте модель при помощи сгенерированного кода C. Первый раз, когда вы запускаете симуляцию, Simulink® генерирует код С для блока. Код С повторно используется для последующих симуляций, если модель не меняется. Эта опция требует дополнительного времени запуска, но скорость последующих симуляций быстрее Interpreted execution.
Interpreted execution -- Моделируйте модель с помощью MATLAB® интерпретатор. Эта опция требует меньше времени запуска, чем Code generation метод, но скорость последующих симуляций медленнее. В этом режиме можно отлаживать исходный код блока.
Типы данных |
|
Многомерные сигналы |
|
Сигналы переменного размера |
|
Коды Баркера имеют максимальную автокорреляционную последовательность, которая имеет внепиковые автокорреляции не более 1.
A correlation sidelobe является корреляцией кодового слова с измененной во времени версией себя. Боковой элемент корреляции, Ck, для k -symbol-сдвига N -битовой кодовой последовательности, {Xj}, является
Для j = 1, 2, 3,.. ., N, Xj является индивидуальным символом кода, который равен + 1 или -1. Смежные символы приняты равными 0.
Выходной код находится в биполярном формате с 0 и 1, сопоставленными с 1 и -1. Максимально известная длина кода Баркера - 13. Короткая длина и малая корреляция боковых элементов делают коды Баркера полезными для системы координат синхронизации в цифровых коммуникационных системах. Генератор кода Баркера выводит коды Баркера, перечисленные в этой таблице.
| Длина кода Баркера | Код Баркера | Уровень бокового колеса |
|---|---|---|
1
| [–1] | 0 дБ |
2
| [–1; 1] | -6 дБ |
3
| [–1; –1; 1] | -9,5 дБ |
4
| [–1; –1; 1; –1] | -12 дБ |
5
| [–1; –1; –1; 1; –1] | -14 дБ |
7
| [–1; –1; –1; 1; 1; –1; 1] | -16,9 дБ |
11
| [–1; –1; –1; 1; 1; 1; –1; 1; 1; –1; 1] | -20,8 дБ |
13
| [–1; –1; –1; –1; –1; 1; 1; –1; –1; 1; –1; 1; –1] | -22,3 дБ |
Время между обновлениями выхода равно продукту Samples per frame и Sample time. Для примера, если Sample time и Samples per frame равны единице, блок выводит выборку каждую секунду. Если Samples per frame увеличено до 10, то вектор 10 на 1 выводится каждые 10 секунд. Это гарантирует, что эквивалентная скорость выхода не зависит от параметра Samples per frame.
Поведение изменено в R2020a
Начиная с R2020a, Simulink больше не позволяет использовать версию блока Barker Code Generator, доступную до R2015b.
Существующие модели автоматически обновляются, чтобы загрузить версию блока Barker Кода Generator, объявленную в Исходных блоках выхода систем координат последовательных временных выборок, но не используйте атрибут системы координат в R2015b Информации о релизах. Для получения дополнительной информации о переадресации блоков смотрите Таблицы переадресации (Simulink).
Не поддерживает генерацию кода только для целого числа.
1. Если смысл перевода понятен, то лучше оставьте как есть и не придирайтесь к словам, синонимам и тому подобному. О вкусах не спорим.
2. Не дополняйте перевод комментариями “от себя”. В исправлении не должно появляться дополнительных смыслов и комментариев, отсутствующих в оригинале. Такие правки не получится интегрировать в алгоритме автоматического перевода.
3. Сохраняйте структуру оригинального текста - например, не разбивайте одно предложение на два.
4. Не имеет смысла однотипное исправление перевода какого-то термина во всех предложениях. Исправляйте только в одном месте. Когда Вашу правку одобрят, это исправление будет алгоритмически распространено и на другие части документации.
5. По иным вопросам, например если надо исправить заблокированное для перевода слово, обратитесь к редакторам через форму технической поддержки.


