Сгенерируйте биполярный Код Кусачек для снятия оболочки
Communications Toolbox
Communications Toolbox / Источники Коммуникации / Генераторы Последовательности
Блок Barker Code Generator генерирует биполярный код Баркера. Короткий отрезок и низкие боковые лепестки корреляции делают коды Баркера полезными для кадровой синхронизации в системах цифровой связи. Для получения дополнительной информации см. Коды Баркера.
output — Система координат кусачек для снятия оболочки кодаСистема координат Баркера кода, возвращенная как вектор-столбец. Если длина системы координат превышает разрядность кода Баркера, блок заполняет систему координат путем повторения кода Баркера.
Установите тип данных выхода параметром Output data type.
Code length — Длина сгенерированного кода (значение по умолчанию) | 1| 2 | 3 | 4 | 5 | 11 | 13 Длина сгенерированного кода в виде 1, 2, 3, 4, 5, 7, 11, или 13. Для получения дополнительной информации см. Коды Кусачек для снятия оболочки.
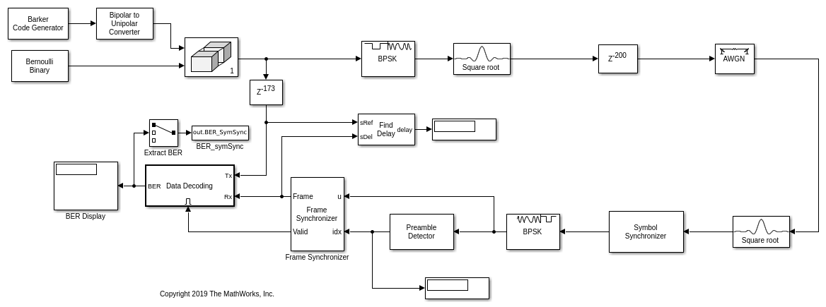
Пример 2 выводит код Баркера [–1; 1].
Типы данных: double
Sample time — Выведите шаг расчета (значение по умолчанию) |-1 | положительная скалярная величинаПоложительные скалярные величины задают время в секундах между каждой выборкой выходного сигнала. Если вы устанавливаете Sample time на -1, выходной сигнал наследовал шаг расчета от нисходящего потока. Для получения информации об отношении между Sample time и параметрами Samples per frame, смотрите
Демонстрационная Синхронизация.
Samples per frame — Выборки на выходную систему координат (значение по умолчанию) | положительное целое числоВыборки на выход структурируют в виде положительного целого числа. Если Samples per frame является M, блок выводит систему координат, содержащую выборки M, состоявшие из длины N кодовые последовательности Баркера. N является длиной сгенерированного кода, который установлен параметром Code length. Когда M не является целочисленным кратным N, последовательные системы координат обеспечивают непрерывность кода Баркера через контуры системы координат.
Для получения информации об отношении между Sample time и Samples per frame, смотрите Демонстрационную Синхронизацию.
Типы данных: double
Output data type — Тип выходных данныхdouble (значение по умолчанию) | int8Выходные данные вводят в виде double или int8.
Типы данных: char | string
Simulate using — Тип симуляции, чтобы запуститьсяCode generation (значение по умолчанию) | Interpreted executionТип симуляции, чтобы запуститься в виде Code generation или Interpreted execution.
Code generation – Симулируйте модель при помощи сгенерированного кода C. В первый раз вы запускаете симуляцию, Simulink® генерирует код С для блока. Код С снова используется для последующих симуляций, если модель не изменяется. Эта опция требует дополнительного времени запуска, но скорость последующих симуляций быстрее, чем Interpreted execution.
Interpreted execution – Симулируйте модель при помощи MATLAB® интерпретатор. Эта опция требует меньшего количества времени запуска, чем Code generation метод, но скорость последующих симуляций медленнее. В этом режиме можно отладить исходный код блока.
Типы данных |
|
Многомерные сигналы |
|
Сигналы переменного размера |
|
Коды кусачек для снятия оболочки имеют максимальную последовательность автокорреляции, которая имеет непиковые автокорреляции, не больше, чем 1.
correlation sidelobe является корреляцией кодовой комбинации с переключенной временем версией себя. Боковой лепесток корреляции, Ck, для k - сдвиг символа N битная кодовая последовательность, {Xj},
Для j =1, 2, 3..., N, Xj является отдельным кодовым знаком, который равен +1 или –1. Смежные символы приняты, чтобы быть 0.
Выходной код находится в биполярном формате с 0 и 1 сопоставленный к 1 и –1. Максимум известная разрядность кода Баркера равняется 13. Короткий отрезок и низкие боковые лепестки корреляции делают коды Баркера полезными для кадровой синхронизации в системах цифровой связи. Генератор кода Баркера выводит коды Баркера, перечисленные в этой таблице.
| Разрядность кода кусачек для снятия оболочки | Код кусачек для снятия оболочки | Уровень бокового лепестка |
|---|---|---|
1
| [–1] | 0 дБ |
2
| [–1; 1] | – 6 дБ |
3
| [–1; –1; 1] | – 9,5 дБ |
4
| [–1; –1; 1; –1] | – 12 дБ |
5
| [–1; –1; –1; 1; –1] | – 14 дБ |
7
| [–1; –1; –1; 1; 1; –1; 1] | – 16,9 дБ |
11
| [–1; –1; –1; 1; 1; 1; –1; 1; 1; –1; 1] | – 20,8 дБ |
13
| [–1; –1; –1; –1; –1; 1; 1; –1; –1; 1; –1; 1; –1] | – 22,3 дБ |
Время между выходными обновлениями равно продукту значений параметров Sample time и Samples per frame. Например, если Sample time и Samples per frame каждый равный 1, блок выводит выборку каждую секунду. Если вы увеличиваете Samples per frame до 10, то блок выводит вектор 10 на 1 каждые 10 секунд. Это гарантирует, что эквивалентная норма выработки не зависит от параметра Samples per frame.
Поведение изменяется в R2020a
Начиная в R2020a, Simulink больше не позволяет вам использовать версию блока Barker Code Generator, доступную перед R2015b.
Существующие модели автоматически обновляются, чтобы загрузить версию блока Barker Code Generator, о которой объявляют в Исходных блоках выходные системы координат непрерывных выборок времени, но не используют атрибут системы координат в Информации о релизах R2015b. Для получения дополнительной информации о передаче блока смотрите, Обеспечивают Совместимость Библиотечных блоков Используя Передачу Таблиц (Simulink).
Не поддерживает целое число только генерация кода.
1. Если смысл перевода понятен, то лучше оставьте как есть и не придирайтесь к словам, синонимам и тому подобному. О вкусах не спорим.
2. Не дополняйте перевод комментариями “от себя”. В исправлении не должно появляться дополнительных смыслов и комментариев, отсутствующих в оригинале. Такие правки не получится интегрировать в алгоритме автоматического перевода.
3. Сохраняйте структуру оригинального текста - например, не разбивайте одно предложение на два.
4. Не имеет смысла однотипное исправление перевода какого-то термина во всех предложениях. Исправляйте только в одном месте. Когда Вашу правку одобрят, это исправление будет алгоритмически распространено и на другие части документации.
5. По иным вопросам, например если надо исправить заблокированное для перевода слово, обратитесь к редакторам через форму технической поддержки.


