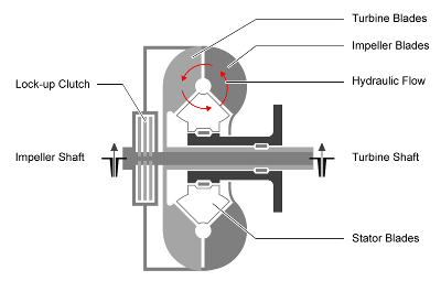
Трехкомпонентный гидротрансформатор, состоящий из рабочего колеса, турбины и статора
Блок силового агрегата/трансмиссия/преобразователи крутящего момента

Блок гидротрансформатора реализует трехкомпонентный гидротрансформатор, состоящий из рабочего колеса, турбины и статора с опциональной возможностью блокировки сцепления. Блок может имитировать привод (мощность, протекающая от рабочего колеса к турбине) и накачку (мощность от турбины, рассеиваемая в гидрожидкости гидротрансформатора).
Можно указать характеристики гидротрансформатора:
Отношение скоростей - Отношение угловой скорости турбины к угловой скорости рабочего колеса
Коэффициент крутящего момента - отношение крутящего момента турбины к крутящему моменту рабочего колеса
Параметризация коэффициента мощности - функция входной частоты вращения или входного крутящего момента
Дополнительные конфигурации блокировки сцепления включают в себя:
Без блокировки - только для модели жидкостной муфты
Блокировка - модель автоматического сцепления
Внешняя блокировка - модельное давление сцепления в качестве входного сигнала от внешнего сигнала

Основываясь на состоянии блокировки сцепления, блок реализует эти модели трения.
| Если | Состояние сцепления | Модель трения |
|---|---|---|
| (bt + bi)] | | Незапертый | Ro3-Ri3) 3 (Ro2-Ri2) |
| bi) + вес] | | Запертый |
Tf = Ts |
Для моделирования динамики вращения, если муфта заблокирована, блок реализует уравнения.
Скорость вращения представляет как скорость вращения рабочего колеса, так и скорости вращения турбины.
Для моделирования динамики вращения, если муфта разблокирована, блок реализует уравнения.
Tpζ (ϕ)
Для аппроксимации задержки умножения крутящего момента между рабочим колесом и турбиной можно задать параметр «Постоянная времени срабатывания крутящего момента текучей среды» (значение 0 для отключения), tauc [s].
Для учета мощности блок реализует эти уравнения.
| Сигнал шины | Описание | Переменная | Уравнения | ||
|---|---|---|---|---|---|
|
|
| Приложенная мощность рабочего колеса | Сутенер | |
PwrTurb | Прикладываемая выходная мощность турбины | Pturb | |||
|
| PwrDampLoss | Механические потери демпфирования | Pdamploss | ||
PwrFluidCplingLoss | Теплопотери для передающей жидкости | Pflloss | Thydü t) | ||
PwrCltchLoss | Потеря мощности при проскальзывании сцепления | Pcltloss | startt) | ||
|
| PwrStoredImp | Скорость изменения кинетической энергии вращения рабочего колеса | Pstrimp | ||
PwrStoredTurb | Изменение скорости кинетической энергии вращения турбины | Pstrturb | |||
Блок реализует уравнения, использующие эти переменные.
Момент трения | |
Кинетический момент трения | |
Статический фрикционный момент | |
Приложенный входной крутящий момент | |
Момент реакции рабочего колеса | |
Приложенный извне крутящий момент турбины | |
Коэффициент преобразования крутящего момента | |
Коэффициент крутящего момента | |
Частота вращения вала рабочего колеса | |
Частота вращения вала турбины | |
Инерция вращения рабочего колеса | |
Инерция вращения турбины | |
Вращательное вязкое демпфирование рабочего колеса | |
Гашение вязкости вращения турбины | |
Эффективный радиус сцепления | |
Внешний радиус кольцевого диска | |
Внутренний радиус кольцевого диска |