В Simulink ® можно моделировать поведение компонентов AUTOSAR, включая поведение объектов выполнения, событий и переменных, допускающих выполнение.
Для моделирования поведения компонента AUTOSAR необходимо моделировать элементы AUTOSAR, описывающие аспекты планирования и совместного использования ресурсов компонента. Элементы AUTOSAR, которые влияют на поведение компонентов, включают в себя:
Runnables и события, на которые они реагируют
Переменные, используемые для передачи данных между модулями в одном и том же компоненте
Включенные наборы типов данных, которые предоставляют внутренние типы данных компонентов
Системные константы, используемые для задания значений констант системного уровня, доступных для справки в компонентных алгоритмах
Память для каждого экземпляра, используемая для указания глобальной памяти для конкретного экземпляра в компоненте
Статическая и постоянная память для доступа к глобальным данным и значениям параметров внутри компонента
Общая память и память для каждого экземпляра для доступа к внутренним параметрам компонента
Параметры порта для доступа на основе порта к данным параметров
В этом разделе описывается моделирование элементов AUTOSAR, которые помогают определить поведение компонента.
Программные компоненты AUTOSAR содержат выполняемые объекты, которые прямо или косвенно планируются базовой операционной системой AUTOSAR.
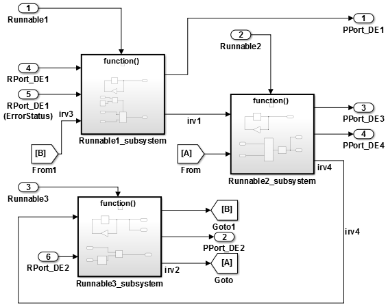
На этом рисунке показан программный компонент AUTOSAR с двумя исполняемыми модулями. Runnable 1 и Runnable 2. События, генерируемые средой выполнения AUTOSAR (RTE), запускают каждый из них. Например, TimingEvent является RINGvent, который генерируется периодически.

Компонент также может содержать один выполняемый компонент, представленный моделью, и может быть односкоростным или многоскоростным.
Примечание
Программное обеспечение создает дополнительную возможность запуска для функции инициализации независимо от шаблона моделирования.
Дополнительные сведения см. в разделе Настройка Runnables и событий AUTOSAR.
В AUTOSAR для передачи данных между исполняемыми объектами в одном и том же компоненте используются переменные с возможностью взаимодействия. Эти переменные в модели Simulink определяются сигнальными линиями, соединяющими подсистемы (выполняемые). Например, на следующем рисунке: irv1, irv2, irv3, и irv4 являются переменными, выполняемыми между собой.

Можно указать имена и режимы доступа к данным для экспортируемых переменных.
В модели программных компонентов AUTOSAR можно импортировать и экспортировать ARXML-описания наборов типов данных, включенных в AUTOSAR (IncludedDataTypeSets). Один IncludedDataTypeSet определяет типы данных AUTOSAR, которые являются внутренними для компонента и не присутствуют в описаниях интерфейса компонента. Несколько компонентов могут импортировать IncludedDataTypeSet для совместного использования общего набора внутренних типов данных.
При импорте файлов ARXML, содержащих IncludedDataTypeSet описания в Simulink, импортер создает внутренние типы данных в модели компонента AUTOSAR и сопоставляет их с файлом заголовка Rte_Type.h.
В модели компонента AUTOSAR для настройки внутренних типов данных для экспорта в ARXML IncludedDataTypeSet описания, сопоставить внутренние типы данных с заголовочным файлом Rte_Type.h. Построение модели компонента:
Экспорт ARXML IncludedDataTypeSet описания внутренних типов данных, которые используются в коде модели.
Производит Rte_Type.h записи файла заголовка для внутренних типов данных.
Для AUTOSAR IncludedDataTypeSet export, Simulink поддерживает следующие типы данных:
Числовой
Псевдоним
Автобус
Фиксированная точка
Перечисленный
Префиксы литералов для литералов перечисления обрабатываются по-разному при импорте и создании IncludedDataTypeSets:
При импорте IncludedDataTypeSet который определяет LiteralPrefix в качестве общего префикса для литералов перечисления импортер сохраняет LiteralPrefix на экспорт и в оба конца IncludedDataTypeSet.
При настройке внутренних типов данных в модели компонента для экспорта в AUTOSAR IncludedDataTypeSet, экспортер генерирует типы данных в IncludedDataTypeSet с пустым LiteralPrefix.
Для получения дополнительной информации посмотрите, Настраивают Внутренние Типы данных для AUTOSAR IncludedDataTypeSets.
системные константы AUTOSAR (АВТОСАР) (SwSystemConstants) указать значения констант системного уровня, доступные для справки в компонентных алгоритмах. Чтобы добавить системные константы AUTOSAR в модель, можно:
Импортируйте их из файлов ARXML.
Создайте их в Simulink с помощью AUTOSAR.Parameter объекты, для которых установлен класс Storage SystemConstant.
Затем можно ссылаться на системные константы AUTOSAR в алгоритмах Simulink. Например, можно ссылаться на системную константу в блоке усиления или в формуле условия внутри подсистемы исполнения или привязки модели.
При ссылке на системную константу AUTOSAR в модели:
Экспортированный код ARXML содержит соответствующий SwSystemConstant и соответствующий прокси точки изменения AUTOSAR (VariationPointProxy), которая ссылается на SwSystemConstant. При создании модульных файлов ARXML SwSystemConstant находится в и modelname_datatype.arxmlVariationPointProxy находится в .modelname_component.arxml
Сгенерированный код C использует сгенерированный код VariationPointProxy в местах, где модель использует SwSystemConstant.
Пример системной константы AUTOSAR, представляющей условное значение, связанное с логикой условий исполнения, см. в разделе Настройка исполнений для исполняемых реализаций AUTOSAR.
AUTOSAR поддерживает память для каждого экземпляра, что позволяет указать глобальную память для конкретного экземпляра в программном компоненте. Генератор среды выполнения AUTOSAR выделяет эту память и предоставляет API, через который осуществляется доступ к этой памяти.
Память для каждого экземпляра может иметь тип AUTOSAR или C. AUTOSAR-типизированная память для каждого экземпляра (arTypedPerInstanceMemory) описывается с использованием типов данных AUTOSAR, а не типов C. При экспорте в коде ARXML arTypedPerInstanceMemory позволяет использовать средства измерения и калибровки для мониторинга глобальной переменной, соответствующей памяти каждого экземпляра.
AUTOSAR также позволяет использовать память для каждого экземпляра в качестве зеркала ОЗУ для данных в энергонезависимой ОЗУ (NVRAM). В приложении AUTOSAR можно использовать NVRAM.
Чтобы добавить в модель память AUTOSAR для каждого экземпляра, можно:
Импорт определений памяти для каждого экземпляра из файлов ARXML.
Создание содержимого модели, представляющего память для каждого экземпляра.
Смоделировать arTypedPerInstanceMemoryВ модели AUTOSAR можно использовать блочные сигналы, дискретные состояния или хранилища данных:
Для использования блочных сигналов и дискретных состояний используйте редактор сопоставлений кодов на вкладке «Сигналы/состояния», чтобы выбрать сигнал или состояние и сопоставить его с arTypedPerInstanceMemory. Инспектор свойств отображает атрибуты кода и калибровки для статической памяти, которые можно изменить.
Для использования хранилищ данных используйте редактор сопоставлений кодов на вкладке Хранилища данных, чтобы выбрать хранилище данных и сопоставить его с arTypedPerInstanceMemory. Инспектор свойств отображает атрибуты кода и калибровки для статической памяти, которые можно изменить.
Дополнительные сведения см. в разделе Настройка памяти AUTOSAR для каждого экземпляра.
AUTOSAR поддерживает данные статической памяти (StartMemory) и постоянной памяти (ConstantMemory). Статическая память соответствует внутренним глобальным сигналам Simulink. Постоянная память соответствует внутренним глобальным параметрам Simulink. В Simulink можно импортировать и экспортировать ARXML-описания статической и постоянной памяти AUTOSAR. При экспорте в коде ARXML статическая память и постоянная память позволяют использовать средства измерения и калибровки для контроля данных внутренней памяти.
Для моделирования статической памяти AUTOSAR в Simulink используйте редактор сопоставлений кодов, вкладку «Сигналы/Состояния» или «Хранилища данных». Выберите сигнал, состояние или хранилище данных и сопоставьте его с StaticMemory. Инспектор свойств отображает атрибуты кода и калибровки для статической памяти, которые можно изменить.
Для моделирования постоянной памяти AUTOSAR в Simulink используйте редактор «Сопоставления кодов» на вкладке «Параметры», чтобы выбрать параметр и сопоставить его с ConstantMemory. Инспектор свойств отображает атрибуты кода и калибровки для постоянной памяти, которые можно изменить.
Дополнительные сведения см. в разделах Настройка статической памяти AUTOSAR и Настройка постоянной памяти AUTOSAR.
AUTOSAR поддерживает общие параметры (SharedParameters) и параметры экземпляра (PerInstanceParameters) для использования в программных компонентах, которые могут быть созданы несколько раз. Значения общих параметров совместно используются всеми экземплярами компонента. Значения параметров каждого экземпляра уникальны и являются частными для каждого экземпляра компонента.
В Simulink можно импортировать и экспортировать ARXML-описания общих параметров AUTOSAR и параметров каждого экземпляра. При экспорте в коде ARXML общие параметры и параметры для каждого экземпляра позволяют использовать инструменты измерения и калибровки для контроля параметров компонентов.
Чтобы смоделировать общий параметр AUTOSAR в Simulink, настройте параметр рабочей области модели, который не является аргументом модели (то есть не является уникальным для каждого экземпляра многоэкземплярной модели). Например, в представлении параметра «Обозреватель моделей» очистите свойство «Аргумент». В редакторе сопоставлений кодов на вкладке «Параметры» выберите параметр и сопоставьте его с типом параметра. SharedParameter. Инспектор свойств отображает атрибуты кода и калибровки для общего параметра, которые можно изменить.
Чтобы смоделировать параметр AUTOSAR для экземпляра в Simulink, настройте параметр рабочей области модели, который является аргументом модели (то есть уникальным для каждого экземпляра многоэкземплярной модели). Например, в представлении параметра «Обозреватель моделей» выберите свойство «Аргумент». В редакторе сопоставлений кодов на вкладке «Параметры» выберите параметр и сопоставьте его с параметром. PerInstanceParameter. Инспектор свойств отображает атрибуты кода и калибровки для каждого параметра экземпляра, которые можно изменить.
Дополнительные сведения см. в разделе Настройка общих или индивидуальных параметров AUTOSAR.
Стандарт AUTOSAR определяет параметры на основе портов для передачи параметров. Связь параметров AUTOSAR основана на программном компоненте параметров (ParameterSwComponent) и один или несколько компонентов атомарного программного обеспечения, которые требуют доступа к данным параметров на основе портов. ParameterSwComponent представляет собой память, содержащую параметры AUTOSAR, и предоставляет данные параметров подключенным атомарным компонентам программного обеспечения.
В Simulink можно моделировать сторону приемника связи параметров AUTOSAR. Импортируя описания ARXML или настраивая модель компонента программного обеспечения, можно моделировать:
Компонент приемника параметров AUTOSAR, который взаимодействует с ParameterSwComponent для получения данных параметров.
Интерфейс параметров AUTOSAR, содержащий элементы данных параметров. Элементы данных сопоставляются с объектами параметров или таблиц подстановки в рабочей области модели.
Порт приемника параметров AUTOSAR, используемый для связи с ParameterSwComponent.
При создании кода для компонента приемника параметров AUTOSAR:
Экспортированные файлы ARXML содержат описания компонента приемника параметров, интерфейса параметров, элементов данных параметров и порта приемника параметров.
Сгенерированный код C содержит параметр порта AUTOSAR Rte вызовы функций.
Во время выполнения программное обеспечение может обращаться к элементам данных параметров как к параметрам, основанным на портах.
Поскольку данные параметров порта привязаны к рабочей области модели и компоненту AUTOSAR:
Различные компоненты могут использовать одни и те же имена параметров без конфликтов имен.
Композиция AUTOSAR может содержать несколько экземпляров компонента приемника параметров, каждый из которых имеет специфичные для экземпляра значения данных параметров порта.
Дополнительные сведения см. в разделе Настройка параметров порта AUTOSAR для связи с компонентом параметров.