Качающаяся пластина в однопоршневом, изотермическом осевом поршневом насосе
Simscape/Жидкости/Изотермическая жидкость/Насосы и двигатели/Вспомогательные компоненты

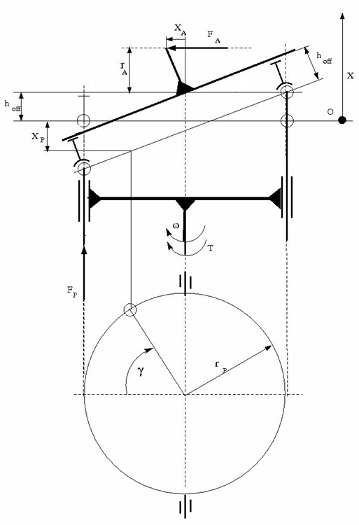
Блок Swash Plate моделирует одну, приводимую в действие поршнем, качающуюся пластину в аксиально-поршневом насосе. Он преобразует линейное срабатывание во вращательное движение, которое при соединении с блоком диафрагмы клапанной пластины (IL) периодически соединяет поршень с входом и выходом насоса. К нескольким поршням можно подключить несколько блоков качающихся пластин.
Схема качающейся пластины в аксиально-поршневом насосном блоке

Пластина находится в динамическом равновесии, если результирующая работа поршня, привода и пластины равна нулю:
δy=0,
где:
FPδP - работа, проделанная за счет перемещения поршня.
FAδA - работа, проделанная за счет перемещения привода.
δy - работа, выполняемая за счет результирующего крутящего момента, касательного к движению пластины.
Крутящий момент пластины:
startres,
где:
rP - радиус шага блока цилиндров.
rA - рычаг привода качающейся пластины.
XA - смещение привода.
FP - сила поршня.
γ - угловое смещение пластины.
Крутящий момент вязкого трения или сопротивление движению из-за контакта плита-поршень составляет:
мквискоусом rP2,
где:
mcviscous - коэффициент вязкого трения.
λ - угловая скорость ротора.
Смещение поршня, x, пропорционально перемещению исполнительного механизма:
rPrAxAcosγ,
где hoff - смещение поршня от пластины. Смещение является положительным, если оно движется к блоку цилиндров.
Скорость поршня составляет:
+ xA2rA2,
где VA - скорость исполнительного механизма.
Этот блок учитывает эффект вязкого трения между поршнем и пластиной, но пренебрегает инерцией пластины и жидкости.
Примечание
Эта справочная страница предназначена для блока библиотеки изотермической жидкости. Для блока библиотеки гидравлических (изотермических) жидкостей см. раздел Качающаяся пластина.