Механизм качающейся пластины
Насосы и двигатели

Обратите внимание, что эта справочная страница предназначена для блока библиотеки гидравлических (изотермических) жидкостей. Блок библиотеки изотермической жидкости см. в разделе Плита-качалка.
Блок «Качающаяся плита» представляет собой модель механизма качающейся плиты, используемого в аксиально-поршневых гидронасосах и двигателях для преобразования поступательного движения поршня во вращательное движение приводного вала. Механизм представляет собой комбинацию блока цилиндров или ротора, внутри которого установлен поршень, и наклонной качающейся пластины.

Угловое положение пластины контролируется исполнительным механизмом, обычно сервоцилиндром, действующим вдоль линии действия исполнительного механизма (отмечается на предыдущей схеме). Расстояние между линией привода и качающейся пластиной под нулевым углом равно длине рычага привода rA. Поршни смещены относительно качающейся пластины. Угол качающейся пластины может быть изменен для увеличения или уменьшения хода поршня. При повороте ротора поршень скользит по качающейся пластине, что вызывает возвратно-поступательное движение поршня. Скользящий контакт между поршнем и качающейся пластиной поддерживается направляющей, показанной на схеме.
В гидравлической машине поршень перемещается вдоль прорезей в портовой пластине (не показана на предыдущей схеме), периодически соединяясь, таким образом, либо с впускным, либо с выпускным отверстием машины. Модель моделирует один поршень, взаимодействующий с качающейся пластиной. Механически механизм выполняет суммирование двух движений, вызванных вращением качающейся пластины относительно ее оси и вращением ротора, и преобразует их в перемещение поршня.
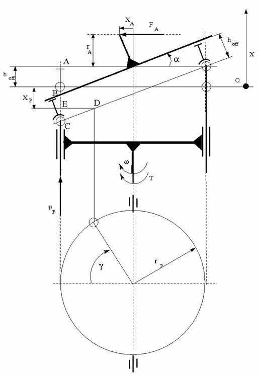
На следующей иллюстрации показана расчетная схема механизма.

Предполагается, что положительное направление исполнительного механизма направлено влево от вертикальной оси, в то время как положительное направление движения поршня направлено вверх, как показано на диаграмме. Опорная точка для обоих движений соответствует пластине, перпендикулярной оси ротора. Что касается углового движения ротора, то предполагается, что вращение по часовой стрелке (если смотреть сверху) является положительным.
Перемещение поршня при произвольном угле вращения ротора γ и перемещении привода xA определяется соотношением:
= xArA
который после незначительной перестройки дает:
| + xA2rA2 − 1) | (1) |
где
| xP | Перемещение поршня |
| xA | Перемещение привода |
| RP | Радиус шага блока цилиндров |
| Ра | Рычаг привода |
| γ | Угол поворота ротора |
| hoff | Смещение поршня |
| β | Фазовый угол поршня |
| ω | Угловая скорость ротора |
| t | Время |
Кинематическая зависимость между перемещением поршня и привода должна быть преобразована в зависимость между основными переменными Поперек для представления физической сети, то есть скоростями:
hoffrA2xAVA1 + xA2rA2
где
| VP | Скорость поршня |
| VA | Скорость привода |
Предполагается, что инерционные свойства механизма являются незначительными. Поэтому любое состояние механизма можно рассматривать как равновесие. По принципу виртуальной работы, если система находится в равновесии, суммарная работа всех приложенных сил и моментов на виртуальных смещениях системы равна нулю. Для рассматриваемого механизма принцип виртуальной работы дает:
| Tres) δγ = 0 | (2) |
где
| FP | Сила поршня |
| ФА | Усилие привода |
| T | Крутящий момент ротора |
| Tres | Крутящий момент сопротивления, воздействующий на ротор из-за вязкого трения |
Виртуальные смещения δxP, δxA и δγ определяются из уравнения 1 и подставляются в уравнение 2. Поскольку виртуальные смещения δxA и δγ независимы, любое из них может быть равно нулю. В результате получим ещё два уравнения механизма:
xA2rA2FP
Трес
Крутящий момент сопротивления:
где λ - коэффициент вязкого трения в контакте между поршнем и пластиной.
Окончательный набор уравнений, описывающих механизм качающейся пластины, имеет вид:
hoffrA2xAVA1 + xA2rA2
xA2rA2FP
+μ⋅rP⋅FP
Соединение Р представляет собой механическое поступательное консервационное отверстие, связанное с наконечником поршня. Соединение S является механическим поворотным консервационным отверстием, связанным с приводным валом, который соединен с блоком цилиндров. Соединение А представляет собой механический поступательный консервационный порт, связанный с приводом качающейся пластины.
Модель учитывает вязкое трение в контакте поршень-пластина.
Инерционные эффекты не учитываются.
Угловые перемещения пластин считаются небольшими.
Соединение между поршнем и пластиной постоянно поддерживает контакт между поршнем и пластиной.
Расстояние между линией действия исполнительного механизма и центром вращения ротора. Параметр должен быть больше нуля. Значение по умолчанию: 0.065 м.
Радиус круга тангажа, где расположены поршни, то есть радиус тангажа блока цилиндров. Параметр должен быть больше нуля. Значение по умолчанию: 0.05 м.
Смещение между наконечником поршня и качающейся пластиной. Параметр должен быть больше или равен нулю. Значение по умолчанию: 0.
Параметр задает начальное угловое положение поршня относительно опорной точки, соответствующей нулевому углу. Значение по умолчанию: 0.
Параметр задает исходное положение исполнительного механизма относительно опорной точки, соответствующей пластине, перпендикулярной оси вращения ротора. Значение по умолчанию: 0.
Параметр определяет коэффициент вязкого трения в контакте между поршнем и пластиной. Параметр должен быть больше нуля. Значение по умолчанию: 50 Н/( м/с ).
Блок имеет следующие порты:
AМеханический консервационный порт, связанный с приводным соединением.
PМеханическое поступательное защитное отверстие, связанное с наконечником поршня.
SМеханическое поворотное защитное отверстие, связанное с приводным валом.
В примере гидравлического осевого поршневого насоса с датчиком нагрузки и ограничением давления моделируется испытательная установка, предназначенная для исследования взаимодействия осевого поршневого насоса с типичным блоком управления, одновременно выполняющим функции датчика нагрузки и ограничения давления. Для обеспечения требуемой точности модель насоса должна учитывать такие особенности, как взаимодействие между поршнями, качающейся пластиной и портовой пластиной, что делает необходимым создание детальной модели насоса.