Регулировка контраста изображения путем линейного масштабирования значений пикселей
Анализ и расширение
visionanalysis

Блок регулировки контрастности регулирует контрастность изображения путем линейного масштабирования значений пикселей между верхним и нижним пределами. Значения пикселей, которые выше или ниже этого диапазона, насыщаются значением верхнего или нижнего предела соответственно.

Математически операция регулировки контраста описывается следующим уравнением, где входными пределами являются [low_in high_in], а выходными пределами - [low_out high_out]:
high_out−low_outhigh_in−low_in,low_in<Input<high_inhigh_out,Input≥high_in}
| Порт | Ввод/вывод | Поддерживаемые типы данных | Поддерживаемые комплексные значения |
|---|---|---|---|
Я | Вектор или матрица значений интенсивности |
| Нет |
Продукция | Скаляр, вектор или матрица значений интенсивности или скаляр, вектор или матрица, представляющая одну плоскость видеопотока RGB | То же, что и порт I | Нет |
Используйте опции Корректировать значения пикселей из и Корректировать значения пикселей к параметрам, чтобы задать верхний и нижний пределы ввода и вывода. Все опции описаны ниже.
Используйте параметр Корректировать значения пикселей из, чтобы задать верхний и нижний пределы ввода.
При выборе Full input data range [min max], использует минимальное входное значение в качестве нижнего входного предела, а максимальное входное значение в качестве верхнего входного предела. |
При выборе User-defined, появится параметр Range [low high], связанный с этой опцией. Введите двухэлементный вектор скалярных значений, где первый элемент соответствует нижней границе ввода, а второй элемент соответствует верхней границе ввода. |
При выборе Range determined by saturating outlier pixels, Процент пикселей для насыщения [низкий максимум] (в%), Укажите количество ячеек гистограммы (используется для вычисления диапазона при исключении отклонений) и Количество параметров ячеек гистограммы, отображаемых в блоке. Блок использует эти значения параметров для вычисления входных пределов в этом трехшаговом процессе: |
Найдите минимальное и максимальное входные значения [min_in max_in].
Масштабируйте значения пикселов с [min_in max_in] на [0 num_bins-1], где num_bins - скалярное значение, указанное в параметре Число ячеек гистограммы. Этот параметр всегда отображает значение, используемое блоком. Затем блок вычисляет гистограмму масштабированного ввода. Дополнительные сведения о гистограммах см. на странице ссылок на блоки 2D-Histogram.
Найдите нижний входной предел таким образом, чтобы процент пикселей со значениями, меньшими, чем нижний предел, был максимум значением первого элемента параметра Percention of pixels to satrate [low high] (in%). Аналогично, найти верхний входной предел таким образом, что процент пикселей со значениями, большими, чем верхний предел, является, по меньшей мере, значением второго элемента параметра.
Для задания верхнего и нижнего пределов вывода используйте параметр «Корректировать значения пикселов к».
При выборе Full data type range, блок использует минимальное значение типа входных данных в качестве нижнего предела вывода и максимальное значение типа входных данных в качестве верхнего предела |
При выборе User-defined range, в блоке появится параметр Range [low high]. Введите двухэлементный вектор скалярных значений, где первый элемент соответствует нижней границе вывода, а второй элемент соответствует верхней границе вывода. |
Если какое-либо входное значение пикселя равно INF или -INFблок «Регулировка контраста» изменяет значение пикселя в соответствии с тем, как установлены параметры. В следующей таблице показано, как блок обрабатывает эти значения пикселей.
| Если для параметра Корректировать значения пикселов установлено значение... | Блок регулировки контрастности: |
|---|---|
| Полный диапазон данных [мин, макс .] | Установите для всего выходного изображения нижний предел параметра «Настройка значений пикселов». |
| Диапазон, определяемый насыщением пикселов отклонения | |
| Определяемый пользователем диапазон | Нижний и верхний пределы параметра Настроить значения пикселов на значение -INF и INF соответственно. |
Если какой-либо входной пиксель имеет NAN , блок отображает пиксели с допустимыми числовыми значениями в соответствии с заданным пользователем методом. Он отображает NAN пикселов к нижней границе параметра «Настройка значений пикселов к».
См. раздел Настройка контрастности изображений интенсивности в Руководстве пользователя Computer Vision Toolbox™.
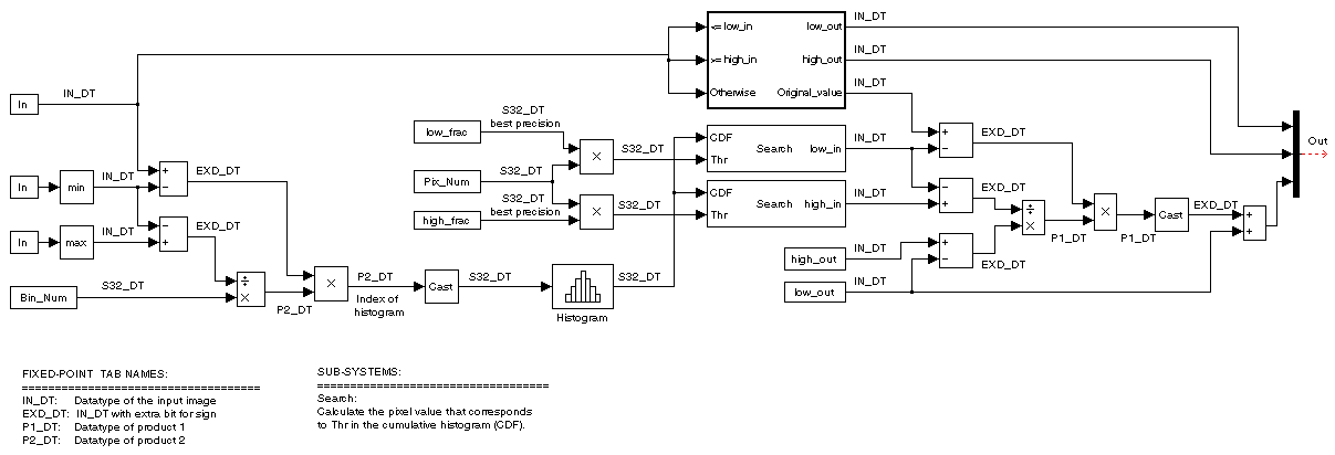
На следующей диаграмме показаны типы данных, используемые в блоке настройки контрастности для сигналов с фиксированной точкой:

Укажите способ ввода верхнего и нижнего пределов ввода. Ваш выбор - Full input data range [min max], User-defined, и Range determined by saturating outlier pixels.
Введите двухэлементный вектор скалярных значений. Первый элемент соответствует нижнему входному пределу, а второй элемент соответствует верхнему входному пределу. Этот параметр отображается, если для параметра Корректировать значения пикселей из (Adjust pixel values from parameter) выбран параметр User-defined.
Введите двухэлементный вектор. Блок вычисляет нижний входной предел таким образом, что процент пикселей со значениями, меньшими, чем нижний предел, является максимум значением первого элемента. Таким же образом вычисляется верхний входной предел. Этот параметр отображается, если для параметра Корректировать значения пикселей из (Adjust pixel values from parameter) выбран параметр Range determined by saturating outlier pixels.
Установите этот флажок, чтобы изменить количество ячеек гистограммы. Этот параметр является редактируемым, если для параметра Корректировать значения пикселей из (Adjust pixel values from parameter) выбран параметр Range determined by saturating outlier pixels.
Введите количество ячеек гистограммы для вычисления масштабированных входных значений. Этот параметр доступен, если установлен флажок Указать количество ячеек гистограммы (используется для вычисления диапазона при устранении отклонений).
Укажите верхний и нижний пределы вывода. При выборе Full data type rangeблок использует минимальное значение типа входных данных в качестве нижнего предела вывода и максимальное значение типа входных данных в качестве верхнего предела вывода. При выборе User-defined range, в блоке появится параметр Range [low high].
Введите двухэлементный вектор скалярных значений. Первый элемент соответствует нижней границе вывода, а второй элемент соответствует верхней границе вывода. Этот параметр отображается, если для параметра Настроить значения пикселов (Adjust pixel values to parameter) выбран параметр User-defined range
Выберите режим округления для операций с фиксированной точкой.
Выберите режим переполнения для операций с фиксированной точкой.
Тип выходного сигнала продукта, когда блок вычисляет отношение между диапазоном входных данных и количеством ячеек гистограммы.

Как показано на предыдущем рисунке, выходной сигнал множителя помещается в тип выходных данных продукта и масштабирование. Используйте этот параметр, чтобы указать, как обозначать выходные слова продукта и длины дробей:
При выборе Binary point scaling, можно ввести длину слова и длину дроби выходного документа в битах.
При выборе Slope and bias scaling, можно ввести длину слова в битах и наклон выхода продукта. Смещение всех сигналов в программном обеспечении Computer Vision Toolbox равно 0.
Тип выходного документа продукта, когда блок вычисляет местоположение ячейки каждого входного значения.

Как показано на предыдущем рисунке, выходной сигнал множителя помещается в тип выходных данных продукта и масштабирование. Используйте этот параметр, чтобы указать, как обозначать выходные слова продукта и длины дробей:
При выборе Binary point scaling, можно ввести длину слова и длину дроби выходного документа в битах.
При выборе Slope and bias scaling, можно ввести длину слова в битах и наклон выхода продукта. Смещение всех сигналов в программном обеспечении Computer Vision Toolbox равно 0.
Этот параметр отображается, если для параметра Корректировать значения пикселей из (Adjust pixel values from parameter) выбран параметр Range determined by saturating outlier pixels.
Выберите этот параметр, чтобы инструменты с фиксированной точкой не переопределяли типы данных, заданные в маске блока. Дополнительные сведения см. в разделе fxptdlg (Fixed-Point Designer) - справочная страница инструмента Fixed-Point Tool в документации Simulink ®.
Программное обеспечение Computer Vision Toolbox | |
Программное обеспечение Computer Vision Toolbox |