exponenta event banner

wlanVHTSIGARecover

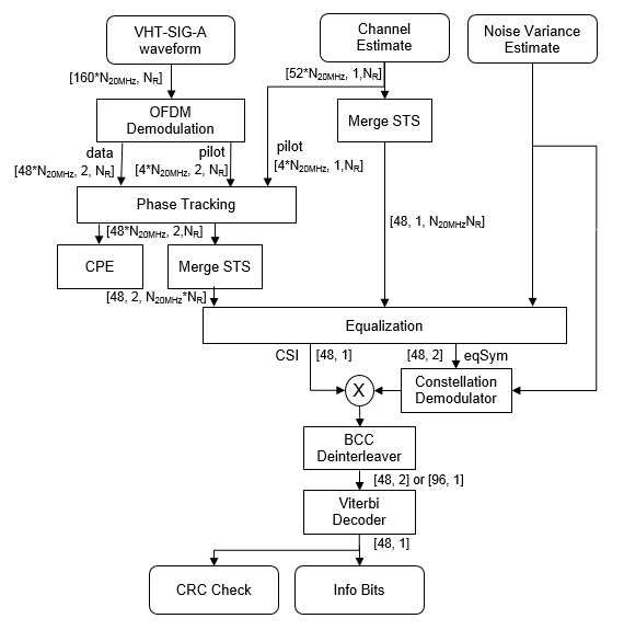
Восстановление информационных битов VHT-SIG-A

Описание

пример

recBits = wlanVHTSIGARecover(rxSig,chEst,noiseVarEst,cbw) возвращает восстановленные информационные биты из VHT-SIG-A1поля []. Входные данные включают в себя принятое поле VHT-SIG-A, оценку канала, оценку дисперсии шума и полосу пропускания канала.

пример

recBits = wlanVHTSIGARecover(rxSig,chEst,noiseVarEst,cbw,Name,Value) задает параметры алгоритма, используя один или несколько аргументов пары имя-значение.

[recBits,failCRC] = wlanVHTSIGARecover(___) возвращает состояние отказа проверки CRC, failCRC, используя аргументы из предыдущих синтаксисов.

[recBits,failCRC,eqSym] = wlanVHTSIGARecover(___) возвращает выровненные символы, eqSym.

[recBits,failCRC,eqSym,cpe] = wlanVHTSIGARecover(___) возвращает общую фазовую ошибку, cpe.

Примеры

свернуть все

Восстановление информационных битов в поле VHT-SIG-A путем выполнения оценки канала на L-LTF по квазистатическому каналу с замиранием 1x2

Создать wlanVHTConfig объект, имеющий полосу пропускания канала 80 МГц. Генерация сигналов поля L-LTF и VHT-SIG-A с использованием этого объекта.

cfg = wlanVHTConfig('ChannelBandwidth','CBW80');
txLLTF = wlanLLTF(cfg);
[txVHTSIGA, txBits] = wlanVHTSIGA(cfg);
chanBW = cfg.ChannelBandwidth;
noiseVarEst = 0.1;

Пропускать сигналы L-LTF и VHT-SIG-A через квазистатический канал замирания 1x2 с AWGN.

H = 1/sqrt(2)*complex(randn(1,2),randn(1,2));
rxLLTF    = awgn(txLLTF*H,10);
rxVHTSIGA = awgn(txVHTSIGA*H,10);

Оценка канала выполняется на основе L-LTF.

demodLLTF = wlanLLTFDemodulate(rxLLTF,chanBW,1);
chanEst = wlanLLTFChannelEstimate(demodLLTF,chanBW);

Восстановление VHT-SIG-A. Убедитесь, что проверка CRC выполнена успешно.

[rxBits,failCRC] = wlanVHTSIGARecover(rxVHTSIGA,chanEst,noiseVarEst,'CBW80');
failCRC
failCRC = logical
   0

Проверка отказа CRC возвращает 0, указывая, что ЦИК прошел.

Сравните переданные биты с принятыми битами. Убедитесь, что сообщенный результат CRC верен, поскольку выходные данные соответствуют входным данным.

isequal(txBits,rxBits)
ans = logical
   1

Восстановите VHT-SIG-A в канале AWGN. Сконфигурируйте сигнал VHT с полосой пропускания канала 160 МГц, одним пространственно-временным потоком и одной приемной антенной.

Создать wlanVHTConfig объект, задающий полосу пропускания канала 160 МГц.

cfg = wlanVHTConfig('ChannelBandwidth','CBW160');

Генерация сигналов поля L-LTF и VHT-SIG-A.

txLLTF = wlanLLTF(cfg);
[txSig,txBits] = wlanVHTSIGA(cfg);
chanBW = cfg.ChannelBandwidth;
noiseVarEst = 0.1;

Передача VHT-SIG-A через канал AWGN.

awgnChan = comm.AWGNChannel('NoiseMethod','Variance','Variance',noiseVarEst);
rxLLTF = awgnChan(txLLTF);
rxSig = awgnChan(txSig);

Выполните оценку канала на основе L-LTF.

demodLLTF = wlanLLTFDemodulate(rxLLTF,chanBW,1);
chEst = wlanLLTFChannelEstimate(demodLLTF,chanBW);

Восстановите VHT-SIG-A, указав метод выравнивания нулевого давления, и проверьте результат CRC

[recBits,failCRC] = wlanVHTSIGARecover(rxSig,chEst,noiseVarEst,'CBW160','EqualizationMethod','ZF');
disp(failCRC)
   0

Убедитесь, что принятый сигнал не содержит битовых ошибок.

biterr(txBits,recBits)
ans = 0

Восстановление VHT-SIG-A в канале 2x2 MIMO с AWGN. Подтвердите, что CRC проверка пропусков.

Сконфигурируйте канал VHT 2x2 MIMO.

chanBW = 'CBW20';
cfgVHT = wlanVHTConfig('ChannelBandwidth', chanBW, 'NumTransmitAntennas', 2, 'NumSpaceTimeStreams', 2);

Генерация сигналов L-LTF и VHT-SIG-A.

txLLTF  = wlanLLTF(cfgVHT);
txVHTSIGA = wlanVHTSIGA(cfgVHT);

Пропускают сигналы L-LTF и VHT-SIG-A через канал 2 × 2 MIMO с белым шумом.

mimoChan = comm.MIMOChannel('SampleRate', 20e6);
rxLLTF = awgn(mimoChan(txLLTF), 15);
rxVHTSIGA = awgn(mimoChan(txVHTSIGA),15);

Демодулируйте сигнал L-LTF. Чтобы сформировать оценку канала, используйте демодулированную L-LTF.

demodLLTF = wlanLLTFDemodulate(rxLLTF, chanBW, 1);
chanEst = wlanLLTFChannelEstimate(demodLLTF, chanBW);

Восстановление информационных битов в VHT-SIG-A.

[recVHTSIGABits, failCRC, eqSym] = wlanVHTSIGARecover(rxVHTSIGA, chanEst, 0, chanBW);

Визуализация графика рассеяния выровненных символов, eqSym.

scatterplot(eqSym(:))

Figure Scatter Plot contains an axes. The axes with title Scatter plot contains an object of type line. This object represents Channel 1.

Входные аргументы

свернуть все

Принятое поле VHT-SIG-A, указанное как матрица NS-by-NR. NS - количество выборок и увеличивается с пропускной способностью канала.

Пропускная способность каналаНЕ УТОЧНЕНО
'CBW20'160
'CBW40'320
'CBW80'640
'CBW160'1280

NR - количество приемных антенн.

Типы данных: double
Поддержка комплексного номера: Да

Оценка канала, заданная как массив NST-by-1-by-NR. NST - количество занятых поднесущих и увеличивается с пропускной способностью канала.

Пропускная способность каналаNST
'CBW20'52
'CBW40'104
'CBW80'208
'CBW160'416

NR - количество приемных антенн.

Оценка канала основана на L-LTF.

Типы данных: double
Поддержка комплексного номера: Да

Оценка дисперсии шума, заданная как неотрицательный скаляр.

Типы данных: double

Полоса пропускания канала в МГц, указана как 'CBW20', 'CBW40', 'CBW80', или 'CBW160'.

Типы данных: char | string

Аргументы пары «имя-значение»

Укажите дополнительные пары, разделенные запятыми Name,Value аргументы. Name является именем аргумента и Value - соответствующее значение. Name должен отображаться внутри кавычек. Можно указать несколько аргументов пары имен и значений в любом порядке как Name1,Value1,...,NameN,ValueN.

Пример: 'PilotPhaseTracking','None' отключает отслеживание фазы пилот-сигнала.

Смещение выборки символа OFDM, представленное в виде доли длины циклического префикса (CP), указанного как пара, разделенная запятыми, состоящая из 'OFDMSymbolOffset' и скаляр в интервале [0, 1]. Указанное значение указывает начальное местоположение демодуляции OFDM относительно начала CP. Стоимость 0 представляет начало CP и значение 1 представляет конец CP.

Типы данных: double

Метод выравнивания, указанный как пара, разделенная запятыми, состоящая из 'EqualizationMethod' и одно из этих значений.

  • 'MMSE' - Приемник использует компенсатор минимальной среднеквадратической ошибки.

  • 'ZF' - Приемник использует нуль-форсирующий эквалайзер.

Типы данных: char | string

Отслеживание фазы пилот-сигнала, определяемое как разделенная запятыми пара, состоящая из 'PilotPhaseTracking' и одно из этих значений.

  • 'PreEQ' - Включить отслеживание фазы пилот-сигнала, которое функция выполняет перед любой операцией выравнивания.

  • 'None' - Отключить отслеживание пилотной фазы.

Типы данных: char | string

Выходные аргументы

свернуть все

Восстановленные информационные биты VHT-SIG-A, возвращенные в виде вектора столбца 48 на 1. Для получения дополнительной информации см. VHT-SIG-A.

Проверка отказа CRC, возвращен как true если проверка CRC завершается неуспешно или false если проверка CRC пройдена.

Выровненные символы на несущих данные поднесущих возвращаются в виде матрицы 48 на 2. Каждый сегмент полосы пропускания канала 20 МГц имеет два символа и 48 поднесущих данных. Эти сегменты объединяются в единую матрицу 48 на 2, которая содержит поле VHT-SIG-A.

Общая фазовая ошибка в радианах, возвращаемая в виде вектора столбца 2 на 1.

Подробнее

свернуть все

VHT-SIG-A

Поле сигнала A (VHT-SIG-A) с очень высокой пропускной способностью состоит из двух символов: VHT-SIG-A1 и VHT-SIG-A2. Поле VHT-SIG-A содержит информацию, необходимую для интерпретации информации PPDU VHT.

Для получения подробной информации о битах поля VHT-SIG-A см. IEEE Std 802.11ac™-2013 [1], таблица 22-12.

L-LTF

Наследие длинная учебная область (L-LTF) является второй областью в 802.11™ устаревшая преамбула OFDM PLCP. L-LTF является компонентом VHT, HT и не-HT PPDU.

Оценка канала, оценка тонкого сдвига частоты и оценка тонкого смещения синхронизации символа основаны на L-LTF.

L-LTF состоит из циклического префикса (CP), за которым следуют два одинаковых длинных обучающих символа (C1 и C2). КП состоит из второй половины длинного обучающего символа.

Длительность L-LTF изменяется в зависимости от полосы пропускания канала.

Полоса пропускания канала (МГц)Частотный интервал поднесущей, ΔF (кГц)Период быстрого преобразования Фурье (FFT) (TFFT  =   1/ΔF)Длительность циклического префикса или интервала защиты обучающего символа (GI2) (TGI2  = TFFT/2  )Длительность L-LTF (TLONG  = TGI2  + 2 × TFFT)
20, 40, 80 и 160312.53,2 мкс1,6 мкс8 мкс
10156.256,4 мкс3,2 мкс16 мкс
578.12512,8 мкс6,4 мкс32 мкс

PPDU

Блок данных протокола PLCP

PPDU является полным кадром PLCP, включая заголовки PLCP, заголовки MAC, поле данных MAC и трейлеры MAC и PLCP.

Алгоритмы

свернуть все

Восстановление VHT-SIG-A

Поле VHT-SIG-A состоит из двух символов и находится между полем L-SIG и частью VHT-STF структуры пакетов для PPDU формата VHT.

Для однопользовательских пакетов можно восстановить информацию о длине из данных полей L-SIG и VHT-SIG-A. Поэтому не требуется, чтобы приемник декодировал поле VHT-SIG-A.

Для получения подробной информации о VHT-SIG-A см. IEEE Std 802.11ac-2013 [1], раздел 22.3.4.5, и Perahia [2], раздел 7.3.2.1.

Ссылки

[1] Стандарт IEEE Std 802.11ac™-2013 IEEE для информационных технологий - Телекоммуникации и обмен информацией между системами - Локальные и городские сети - Особые требования - Часть 11: Спецификации управления доступом к среде беспроводной локальной сети (MAC) и физического уровня (PHY) - Поправка 4: Усовершенствования для очень высокой пропускной способности для работы в диапазонах ниже

[2] Перахия, Э. и Р. Стейси. Беспроводные локальные сети следующего поколения: 802.11n и 802.11ac. 2-е издание, Соединенное Королевство: Cambridge University Press, 2013.

Расширенные возможности

Создание кода C/C + +
Создайте код C и C++ с помощью MATLAB ® Coder™

.
Представлен в R2015b

[1] IEEE ® Std 802.11ac-2013 Адаптирован и переиздан с разрешения IEEE. Авторское право IEEE 2013. Все права защищены.