Синхронная машина дискретного или непрерывного времени ST2C система статического возбуждения с автоматическим регулятором напряжения
Управление Simscape/Electrical/Control/SM

Блок SM ST2C реализует модель синхронно-машинной ST2C статической системы возбуждения в соответствии с IEEE 421.5-2016 [1].
Используйте этот блок для моделирования управления и регулирования напряжения поля синхронной машины.
Можно переключаться между непрерывной и дискретной реализациями блока с помощью параметра Sample time (-1 для унаследованного). Чтобы настроить интегратор на непрерывное время, установите для свойства Sample time (-1 для унаследованного) значение 0. Чтобы настроить интегратор на дискретное время, установите для свойства Sample time (-1 для унаследованного) положительное, ненулевое значение или значение -1 для наследования времени выборки из восходящего блока.
Блок ST2C ПЛ состоит из четырех основных компонентов:
Компенсатор тока изменяет измеренное напряжение на клемме в зависимости от тока клеммы.
Измерительный преобразователь напряжения моделирует динамику контактного преобразователя напряжения с помощью фильтра нижних частот.
Компонент «Элементы управления возбуждением» сравнивает выходной сигнал преобразователя напряжения с опорным напряжением клеммы для получения ошибки напряжения. Эта ошибка напряжения затем проходит через регулятор напряжения для получения напряжения поля.
Источник питания моделирует источник питания для управляемого выпрямителя, когда он не зависит от напряжения на клемме.
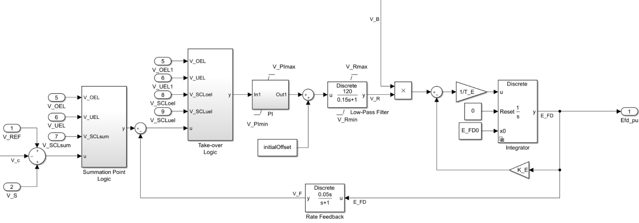
На этой диаграмме показана общая структура модели системы возбуждения ST2C:

На схеме:
VT и IT - измеренное напряжение на клеммах и ток синхронной машины.
VC1 - напряжение на клемме с компенсацией тока.
VC - отфильтрованное напряжение на клемме с компенсацией тока.
VREF - опорное напряжение на клемме.
VS - напряжение стабилизатора системы питания.
VB - напряжение возбуждения возбудителя.
EFD и IFD - напряжение поля и ток соответственно.
В следующих разделах подробно описывается каждая из основных частей блока.
Компенсатор тока моделируется как:
+ XC2,
где:
RC - сопротивление компенсации нагрузки.
XC - реактивное сопротивление компенсации нагрузки.
Измерительный преобразователь напряжения выполнен в виде блока фильтра нижних частот с постоянной времени TR. Дискретные и непрерывные реализации представлены в документации по блоку фильтра нижних частот.
Эта диаграмма иллюстрирует общую структуру элементов управления возбуждением:

На схеме:
Подсистема логики точки суммирования моделирует входное местоположение точки суммирования для ограничителя чрезмерного возбуждения (OEL), ограничителя недостаточного возбуждения (UEL), ограничителя тока статора (SCL) и напряжения переключателя питания (V_S). Дополнительные сведения об использовании ограничителей с этим блоком см. в разделе Ограничения тока поля.
Подсистема Take-over Logic моделирует местоположение входа точки приема для напряжений OEL, UEL и SCL. Дополнительные сведения об использовании ограничителей с этим блоком см. в разделе Ограничения тока поля.
Подсистема PI моделирует PI-контроллер, который функционирует как управляющая структура для автоматического регулятора напряжения и позволяет представить оборудование, модернизированное с современным цифровым контроллером. Минимальными и максимальными пределами насыщения защиты от навивки для блока являются VPImin и VPImax соответственно.
Блок фильтра нижних частот моделирует основную динамику регулятора напряжения. Здесь KA - коэффициент усиления регулятора, а TA - основная постоянная времени регулятора. Минимальными и максимальными пределами насыщения от навивки для блока являются VRmin и VRmax соответственно.
Блок отфильтрованной производной моделирует траекторию обратной связи скорости для стабилизации системы возбуждения. Здесь KF и TF являются коэффициентами усиления и постоянной времени этой системы соответственно. Точные дискретные и непрерывные реализации см. в документации по блоку отфильтрованных производных.
Блок интегратора управляет выходом возбудителя через управляемое насыщение. Параметр EFDmax представляет предел напряжения возбудителя. Постоянная времени ТЕ связана с индуктивностью обмоток управления.
Для изменения выходного сигнала регулятора напряжения в небезопасных рабочих условиях можно использовать различные ограничители тока поля:
Для предотвращения перегрева обмотки поля из-за чрезмерной потребности в токе поля используйте ограничитель перегрузки.
Используйте ограничитель неполучения, чтобы увеличить возбуждение поля, когда оно слишком низкое, что создает риск десинхронизации.
Используйте ограничитель тока статора для предотвращения перегрева обмоток статора из-за избыточного тока.
Присоедините выход любого из этих ограничителей в одной из следующих точек:
Точка суммирования в составе контура обратной связи автоматического регулятора напряжения (АВР)
Точка захвата для переопределения обычного поведения AVR
При использовании ограничителя тока статора в точке суммирования используйте одиночный вход VSCLsum. При использовании ограничителя тока статора в точке захвата используйте как вход сверхвыпуска, VSCLoel, так и вход недозволения, VSCLuel.
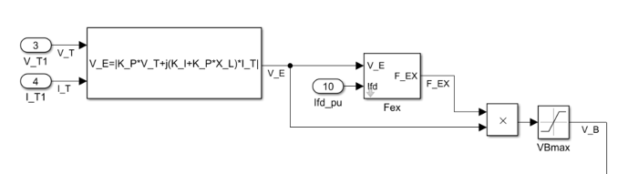
В некоторых статических системах для выработки энергии используются источники тока и напряжения.
На этой диаграмме показана модель источника питания возбудителя, использующего фазорную комбинацию напряжения клеммы, VT и тока клеммы, IT:

[1] Рекомендуемая практика IEEE для моделей систем возбуждения для исследований устойчивости энергосистемы. IEEE Std 421.5-2016. Piscataway, NJ: IEEE-SA, 2016.