Синхронная машина дискретного или непрерывного времени AC4C система возбуждения, включающая автоматический регулятор напряжения и возбудитель
Управление Simscape/Electrical/Control/SM

Блок SM AC4C реализует синхронный тип машины AC4C модель системы возбуждения в соответствии с IEEE 421,5-2016 [1].
Используйте этот блок для моделирования управления и регулирования напряжения поля синхронной машины, которая работает как генератор с помощью вращающегося возбудителя переменного тока.
Можно переключаться между непрерывной и дискретной реализациями блока с помощью параметра Sample time (-1 для унаследованного). Чтобы настроить интегратор на непрерывное время, установите для свойства Sample time (-1 для унаследованного) значение 0. Чтобы настроить интегратор на дискретное время, установите для свойства Sample time (-1 для унаследованного) положительное, ненулевое значение или значение -1 для наследования времени выборки из восходящего блока.
Блок SM AC4C состоит из четырех основных компонентов:
Компенсатор тока изменяет измеренное напряжение на клемме как функцию тока на клемме.
Измерительный преобразователь напряжения моделирует динамику контактного преобразователя напряжения с помощью фильтра нижних частот.
Компонент «Элементы управления возбуждением» сравнивает выходной сигнал преобразователя напряжения с опорным напряжением клеммы для получения ошибки напряжения. Эта ошибка напряжения затем проходит через регулятор напряжения для создания напряжения возбуждения возбудителя.
Вращающийся возбудитель переменного тока моделирует вращающийся возбудитель переменного тока, который создает напряжение поля, которое подается на управляемую синхронную машину. Блок также подает ток поля возбудителя (который имеет стандартный символ VFE) обратно в систему возбуждения.
На этой диаграмме показана общая структура модели системы возбуждения AC4C:

На схеме:
VT и IT - измеренное напряжение на клеммах и ток синхронной машины.
VC1 - напряжение на клемме с компенсацией тока.
VC - отфильтрованное напряжение на клемме с компенсацией тока.
VREF - опорное напряжение на клемме.
VS - напряжение стабилизатора системы питания.
EFE и VFE - напряжение возбуждения возбудителя и ток соответственно.
EFD и IFD - напряжение поля и ток соответственно.
В следующих разделах подробно описывается каждая из основных частей блока.
Компенсатор тока моделируется как:
+ XC2,
где:
RC - сопротивление компенсации нагрузки.
XC - реактивное сопротивление компенсации нагрузки.
Измерительный преобразователь напряжения выполнен в виде блока фильтра нижних частот с постоянной времени TR. Для получения информации о дискретных и непрерывных реализациях см. документацию по этому блоку.
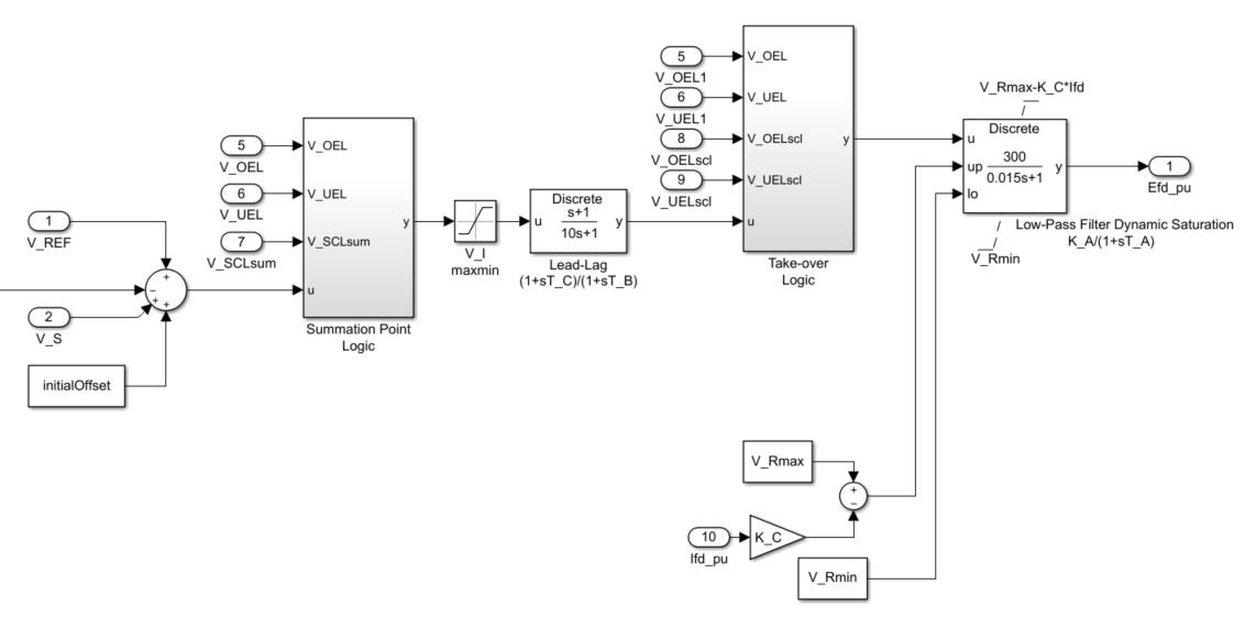
Эта диаграмма иллюстрирует общую структуру элементов управления возбуждением:

В отличие от других моделей возбуждения переменного тока, блок SM AC4C включает в себя полный тиристорный мост, который моделирует выходную цепь возбудителя, и регулятор напряжения, который управляет возбуждением тиристорных мостов. Вместо того, чтобы иметь обратную связь по скорости, стабилизация системы возбуждения осуществляется через сеть опережения-запаздывания и фильтр нижних частот.
На схеме:
Подсистема логики точки суммирования моделирует входное местоположение точки суммирования для напряжений ограничителя сверхвыпуска (OEL), ограничителя недозволенности (UEL) и ограничителя тока статора (SCL). Дополнительные сведения об использовании ограничителей с этим блоком см. в разделе Ограничения тока поля.
Блок Lead-Lag моделирует дополнительную динамику, связанную с регулятором напряжения. Здесь TC - постоянная времени опережения, а TB - постоянная времени запаздывания. Для получения информации о дискретных и непрерывных реализациях см. документацию по блоку Lead-Lag.
Подсистема Take-over Logic моделирует местоположение входа точки приема для напряжений OEL, UEL и SCL. Дополнительные сведения об использовании ограничителей с этим блоком см. в разделе Ограничения тока поля.
Блок фильтра нижних частот моделирует основную динамику регулятора напряжения. Здесь KA - коэффициент усиления регулятора, а TA - основная постоянная времени регулятора. Минимальными и максимальными пределами насыщения от навивки для блока являются VRmin и VRmax соответственно.
Нижняя часть диаграммы моделирует ограничения на основе Ifd.
Для изменения выходного сигнала регулятора напряжения в небезопасных рабочих условиях можно использовать различные ограничители тока поля:
Для предотвращения перегрева обмотки поля из-за чрезмерной потребности в токе поля используйте ограничитель перегрузки.
Используйте ограничитель неполучения, чтобы увеличить возбуждение поля, когда оно слишком низкое, что создает риск десинхронизации.
Используйте ограничитель тока статора для предотвращения перегрева обмоток статора из-за избыточного тока.
Присоедините выход любого из этих ограничителей в одной из следующих точек:
Точка суммирования в составе контура обратной связи автоматического регулятора напряжения (АВР)
Точка захвата для переопределения обычного поведения AVR
При использовании ограничителя тока статора в точке суммирования используйте одиночный вход VSCLsum. При использовании ограничителя тока статора в точке захвата используйте как вход сверхвыпуска, VOELscl, так и вход недозволения, VТТscl.
[1] Рекомендуемая практика IEEE для моделей систем возбуждения для исследований устойчивости энергосистемы. IEEE Std 421.5-2016. Piscataway, NJ: IEEE-SA, 2016.