Общие характеристики шнура шкивной системы
Simscape/Multibody/Ремни и кабели

Блок «Свойства ремня-кабеля» задает атрибуты шнура шкива, в том числе его геометрию и цвет, а также ограничения выравнивания. Для целей визуализации шнур обрабатывают как одномерную линию с цветом и непрозрачностью. Сегменты дуг окружности охватывают шкивы, а сегменты прямых линий перекрывают расстояния между дугами.
По умолчанию шнур может входить и выходить из барабана - шкива или золотника - под углом к его центральной плоскости. Этот угол может изменяться во время моделирования - например, из-за поступательного перемещения барабана по призматическому соединению. В то время как точка контакта всегда находится в центральной плоскости барабана, барабан может перемещаться при установке на соединение. Эта стратегия используется для моделирования, например, обмотки шнура на катушке и угла автопарка на ней (обозначен на рисунке).

Шнур также может быть ограничен для входа в барабан и выхода из него в центральной плоскости этого барабана. Узел по-прежнему может быть трехмерным, с различными шкивами в разных плоскостях, но только при условии, что каждый угол контакта равен нулю. Установите для параметра блока выравнивания барабанный ремень-кабель значение Monitored Planar для применения этого ограничения. (Поскольку ограничение контролируется, моделирование останавливается с ошибкой, если угол контакта должен быть отличным от нуля.)
Другие атрибуты устанавливаются автоматически путем моделирования допущений и расчетов. Среди предположений - предположения о безмассовом шнуре, который и нерастяжим, и всегда натянут. Длину определяют в момент сборки и фиксируют после этого. Его значение согласуется со значением шнура, который точно охватывает шкивную систему в ее начальной конфигурации.
Эта конфигурация зависит от начальных положений различных соединений в модели. Они сопоставляются, где это возможно, с целями состояния, указанными в совместных блоках. Эти мишени можно использовать для задания длины шнура и направления размещения его концов - например, для приложения начального вращения к катушке или начального перемещения к несущему якорю.

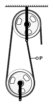
Порт ременного кабеля (P) идентифицирует шнур, характеризующийся этим блоком. Это мало важно, где в сети ремень-кабель порт подключается. Однако важно, чтобы каждая сеть ремень-кабель в модели содержала один экземпляр этого блока. Сеть ремень-кабель отличается от другой, если между ними нет линии соединения ремень-кабель.
Визуализация шнура по умолчанию включена, но его можно подавить в блоке. Если он включен, можно щелкнуть любую точку на шнуре, чтобы выделить всю его длину. В области древовидной структуры найдите имя блока «Свойства ремня-кабеля», связанного с выбранным шнуром - там указывается имя блока. Щелкните правой кнопкой мыши на имени блока и выберитеGo To Block при необходимости обновления свойств визуализации шнура.