Использование InputDelay, OutputDelay, и ioDelay можно моделировать простые процессы с задержками переноса. Однако эти свойства не могут моделировать более сложные ситуации, такие как петли обратной связи с задержками. В дополнение к InputDelay и OutputDelay свойства, состояние-пространство (ss) модели имеют InternalDelay собственность. Это свойство позволяет моделировать взаимосвязь систем с задержками ввода, вывода или транспортировки, включая петли обратной связи с задержками. Вы можете использовать InternalDelay свойство точно моделировать и анализировать произвольные линейные системы с задержками. Внутренние задержки могут возникать из-за следующего:
Конкатенация моделей пространственного состояния с задержками ввода и вывода.
Подача сигнала с задержкой.
Преобразование MIMO tf или zpk модели с задержками переноса в форму state-space.
С помощью внутренних временных задержек можно выполнить следующие действия:
В непрерывном времени генерируйте моделирование времени и частоты без аппроксимации, поскольку задержки не должны заменяться аппроксимацией Паде. За непрерывное время это позволяет более точно анализировать системы с длительными задержками.
В дискретное время держите задержки отдельно от другой динамики системы, поскольку задержки не заменяются полюсами при z = 0, что повышает эффективность моделирования времени и частоты для систем дискретного времени с длительными задержками.
Используйте большинство функций Toolbox™ системы управления.
Тестирование усовершенствованных стратегий управления для систем с задержкой. Например, можно реализовать и протестировать точную модель предсказателя Смита. Смотрите пример Управление процессами с длительным временем покоя: Предсказатель Смита.
В этом примере показано, почему задержки ввода, вывода и переноса недостаточны для моделирования всех типов задержек, которые могут возникнуть в динамических системах. Рассмотрим простой цикл обратной связи с задержкой 2 с.

Функция передачи с замкнутым контуром
+ e − 2s
Элемент задержки в числителе может быть представлен как выходная задержка. Однако член задержки в знаменателе не может. Чтобы смоделировать влияние задержки на контур обратной связи, InternalDelay свойство необходимо для отслеживания внутренней связи между задержками и обычной динамикой.
Как правило, модели пространства состояний не создаются непосредственно с внутренними задержками путем задания матриц A, B, C и D вместе с набором внутренних задержек. Скорее, такие модели возникают при соединении моделей с задержками. Нет никаких ограничений на количество задержек и способ подключения моделей. Пример создания внутренней задержки путем замыкания цикла обратной связи см. в разделе Закрытие циклов обратной связи с временными задержками.
При работе с моделями с внутренними задержками следует учитывать следующее:
Когда взаимодействие модели приводит к внутренним задержкам, программное обеспечение возвращает ss независимо от взаимосвязанных типов модели. Это происходит только потому, что ss поддерживает внутренние задержки.
Программное обеспечение полностью поддерживает петли обратной связи. Можно обернуть петлю обратной связи вокруг любой системы с задержками.
При отображении A, B, C, и D В матрицах программное обеспечение устанавливает все задержки на ноль (создавая аппроксимацию Паде нулевого порядка). Эта аппроксимация выполняется только для отображения, а не для расчетов с использованием модели.
Для некоторых систем установка задержек в ноль создает сингулярные алгебраические циклы, которые приводят к неправильным или плохо определенным аппроксимациям с нулевой задержкой. Для этих систем:
Вход sys возвращает только размеры для матриц системы с именем sys.
Вход sys.A приводит к ошибке.
Ограниченное отображение и ошибка не предполагают проблем с моделью sys сам.
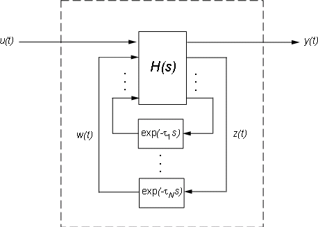
Объекты state-space используют обобщенные уравнения state-space для отслеживания внутренних задержек. Концептуально такие модели состоят из двух взаимосвязанных частей:
Обычная модель H (s) пространства состояний с расширенным набором ввода-вывода
Банк внутренних задержек.

Соответствующими уравнениями состояния и пространства являются:
D22w (t) wj (t) = z (t −
Вам не нужно беспокоиться с этим внутренним представлением, чтобы использовать инструменты. Однако если требуется извлечь H или матрицы A, B1, B2, ... , вы можете использовать getDelayModel, Для примера:
P = 5*exp(-3.4*s)/(s+1); C = 0.1 * (1 + 1/(5*s)); T = feedback(ss(P*C),1); [H,tau] = getDelayModel(T,'lft'); size(H)
Обратите внимание, что H является моделью с двумя входами и двумя выходами, в то время как T является SISO. Обратная операция (объединение H и tau построить T) выполняется setDelayModel.
Следующие команды поддерживают внутренние задержки как для систем непрерывного, так и дискретного времени:
Следующие команды поддерживают внутренние задержки как для систем непрерывного, так и дискретного времени и имеют определенные ограничения:
allmargin, margin- использует интерполяцию, поэтому эти команды являются только такими точными, как точность заданной сетки.
pole, zero- возвращает полюса и нули системы со всеми задержками, равными нулю.
ssdata, get- Если модель СБ имеет внутренние задержки, эти команды возвращают A, B, C, и D матрицы системы со всеми внутренними задержками, установленными в нуль. Использовать getDelayModel для доступа к внутреннему представлению состояния-пространства моделей с внутренними задержками.
Следующие команды не поддерживают внутренние временные задержки:
Анализ временной области -initial и initialplot
Конструкция компенсатора -rlocus, lqg, lqry, lqrd, kalman, kalmd, lqgreg, lqgtrack, lqi, и augstate.
Для использования этих функций в системе с внутренними задержками используйте pade для аппроксимации внутренних задержек. См. раздел Аппроксимация временной задержки.
[1] П. Гахинет и Л. Ф. Шампин, «Программное обеспечение для моделирования и анализа линейных систем с задержками», Proc. American Control Conf., Boston, 2004, pp. 5600-5605
[2] Л. Ф. Шампин и П. Гахинет, Delay-differential-algebraic Equations in Control Theory, Applied Numerical Mathematics, 56 (2006), pp. 574-588